Запчасти Case 980B (188) - HI-LOW RANGE SELECTOR SOLENOID VALVE, (12 VOLT), (USED ON UNITS PRIOR TO PIN 6204051) (07) - HYDRAULIC SYSTEM

Схема запчастей Case 980B - (188) - HI-LOW RANGE SELECTOR SOLENOID VALVE, (12 VOLT), (USED ON UNITS PRIOR TO PIN 6204051) (07) - HYDRAULIC SYSTEM
FIT
1:1
100%

Артикул

Название

Примечание

Количество

S231247

VALVE

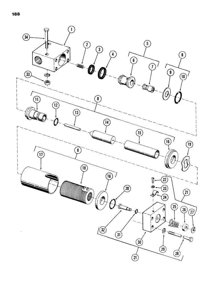
hi-low range selector solenoid, Includes: Ref. 1 - 32

1шт.

1

S109094

BLOCK

1шт.

2

S109095

SPRING

1шт.

3

S109096

MISC PACKAGING

PACKING

1шт.

4

S109097

MISC PACKAGING

PACKING

1шт.

5

S232006

SPOOL

and SLEEVE ASSEMBLY, Includes: Ref. 6 and 7

1шт.

6

S109102

SLEEVE

1шт.

7

S109101

SPOOL

1шт.

8

S232005

TUBE

ASSEMBLY, Includes: Ref. 9 - 18

1шт.

TUBE ASSY CONSISTS OF # 9 & 11 THRU 16

1шт.

9

S71937

WASHER

1шт.

10

S64952

SEALING RING

PACKING

1шт.

11

S62763

STOP

1шт.

12

S109099

PACKING

1шт.

13

S71938

ROD

1шт.

14

S62766

PLUNGER

1шт.

15

S62767

TUBE

1шт.

16

S62761

WASHER

2шт.

17

S62765

SHELL

1шт.

18

S62764

SPINDLE

COIL

1шт.

19

S109106

WASHER

spring

1шт.

20

S64929

PACKING

1шт.

21

S232004

MANUAL RELEASE ASSEMBLY, Includes: Ref. 22 - 32

1шт.

22

172-223

SCREW, machine

1шт.

23

192-5

LOCK WASHER,#6

WASHER, LOCK, #6

1шт.

24

S109103

CLAMP, cable

1шт.

25

S62771

SPRING

1шт.

26

S62772

BUTTON

1шт.

27

S109098

RING, SNAP

RING, retaining

1шт.

28

S90649

CAPSCREW

CPSW

4шт.

29

92-4

LOCK WASHER,1/4"

WASHER, LOCK, 1/4"

4шт.

30

S71981

PLATE

1шт.

31

S64668

PACKING

1шт.

32

S62774

PIN

1шт.

33

86625061

NUT,1/4"-20, GB

NUT, self locking - 1/4" - 20 NC

2шт.

34

113-15

BOLT,Hex, 1/4" - 20 x 2-1/4", Gr 5

CPSW - 1/4" - 20 NC x 2-1/4" Gr 5 - (mounts valve to valve mounting bracket)

2шт.

Выбрано товаров: 36