Запчасти Case 980B (280) - SOLENOID MONOBLOCK VALVE, (USED ON UNITS PRIOR TO PIN 6204051) (07) - HYDRAULIC SYSTEM

Схема запчастей Case 980B - (280) - SOLENOID MONOBLOCK VALVE, (USED ON UNITS PRIOR TO PIN 6204051) (07) - HYDRAULIC SYSTEM
FIT
1:1
100%

Артикул

Название

Примечание

Количество

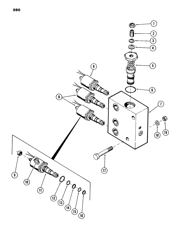
S231451

VALVE

solenoid monoblock, Includes: Ref. 1 - 19

1шт.

1

S109478

NUT

1шт.

2

S109482

SCREW, adjustment

1шт.

3

S109479

WASHER

1шт.

4

S109477

WASHER, special

1шт.

5

NSS

NOT SOLD SEPARAT

HOUSING ASSEMBLY, cartridge

1шт.

6

S5713

O-RING,0.103" Thk x 0.987" ID, -120, Cl 5, 75 Duro

"O" RING - .987" ID x 1.187" OD

1шт.

7

NSS

NOT SOLD SEPARAT

HOUSING

1шт.

8

S231452

VALVE

CARTRIDGE, solenoid valve, Includes: Ref. 9 - 16

3шт.

9

S109473

NUT

1шт.

10

S109474

COIL

1шт.

11

NSS

NOT SOLD SEPARAT

HOUSING ASSEMBLY, cartridge

1шт.

12

218-5006

O-RING,0.087" Thk x 0.644" ID, -908, Cl 6, 90 Duro

"O" RING - .644" ID x .818" OD

1шт.

13

A30825

O-RING,0.364" ID x 0.504" OD x 0.07"

"O" RING - .364" ID x .500" OD

1шт.

14

C11865

RING

back-up

1шт.

15

A28090

O-RING,0.301" ID x 0.441" OD x 0.07"

-011, 70 Duro, .301" ID x .070" Thk

1шт.

16

S109475

BACK-UP RING

back-up

1шт.

17

113-138

BOLT,Hex, 5/16" - 18 x 3-1/2", Gr 5

2шт.

18

195-102

WASHER,1/4"

flat - 5/16"

2шт.

19

131-462

NUT,5/16"-18

NUT, self locking - 5/16" - 18 NC

2шт.

COMPLETE VALVE SHOULD BE S239315

1шт.

P/N S239048 SOLENOID VALVE SEE S/B 77-80.

1шт.

PIN 6204053 & AFTER - MONOBLOCK CART REPLACEMENT SEE MOD PROGRAM 3A80.

1шт.

Выбрано товаров: 23