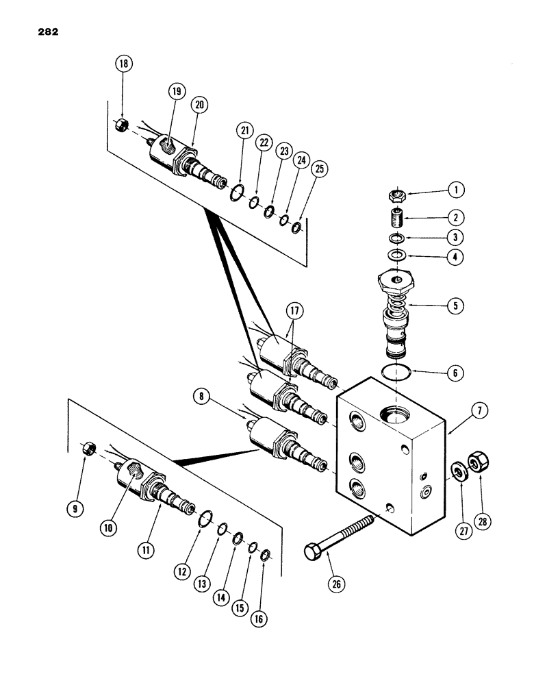
Запчасти Case 980B (282) - SOLENOID MONOBLOCK VALVE, (USED ON UNITS WITH PIN 6204051 AND AFTER) (07) - HYDRAULIC SYSTEM

Схема запчастей Case 980B - (282) - SOLENOID MONOBLOCK VALVE, (USED ON UNITS WITH PIN 6204051 AND AFTER) (07) - HYDRAULIC SYSTEM
FIT
1:1
100%

Артикул

Название

Примечание

Количество

S239137

SOLENOID

VALVE, solenoid monoblock, Includes: Ref. 1 - 25

1шт.

1

S109478

NUT

1шт.

2

S109482

SCREW, adjustment

1шт.

3

S10979

WASHER

1шт.

4

S109477

WASHER, special

1шт.

5

S236348

VALVE

HOUSING ASSEMBLY, cartridge

1шт.

6

S5713

O-RING,0.103" Thk x 0.987" ID, -120, Cl 5, 75 Duro

- .987" ID x 1.187" OD

1шт.

7

NSS

NOT SOLD SEPARAT

HOUSING

1шт.

8

S237942

VALVE

CARTRIDGE, solenoid valve, Includes: Ref. 9 - 16

1шт.

9

S109473

NUT

1шт.

10

S116422

COIL

1шт.

11

NSS

NOT SOLD SEPARAT

HOUSING ASSEMBLY, cartridge

1шт.

12

S6061

O-RING,0.639" ID x 0.09" Width

- .644" ID x .818" OD

1шт.

13

S5605

O-RING,0.07" Thk x 0.364" ID, -12, Cl 5, 75 Duro

- .364" ID x .500" OD

1шт.

14

C11865

RING

back-up

1шт.

15

S5604

O-RING

- .301" ID x .437" OD

1шт.

16

S109475

BACK-UP RING

back-up

1шт.

17

S239048

CARTRIDGE

solenoid valve, Includes: Ref. 18 - 25

2шт.

18

S109473

NUT

1шт.

19

S116422

COIL

1шт.

20

NSS

NOT SOLD SEPARAT

HOUSING ASSEMBLY, cartridge

1шт.

21

S6061

O-RING,0.639" ID x 0.09" Width

- .644" ID x .818" OD

1шт.

22

S5605

O-RING,0.07" Thk x 0.364" ID, -12, Cl 5, 75 Duro

- .364" ID x .500" OD

1шт.

23

C11865

RING

back-up

1шт.

24

S5604

O-RING

- .301" ID x .437" OD

1шт.

25

S109475

BACK-UP RING

back-up

1шт.

26

113-138

BOLT,Hex, 5/16" - 18 x 3-1/2", Gr 5

2шт.

27

195-102

WASHER,1/4"

flat - 5/16"

2шт.

28

131-462

NUT,5/16"-18

NUT, self locking - 5/16" - 18 NC

2шт.

P/N S239048 SOLENOID VALVE SEE S/B 77-80.

1шт.

PIN 6204053 & AFTER - MONOBLOCK CART REPLACEMENT SEE MOD PROGRAM 3A80.

1шт.

Выбрано товаров: 31