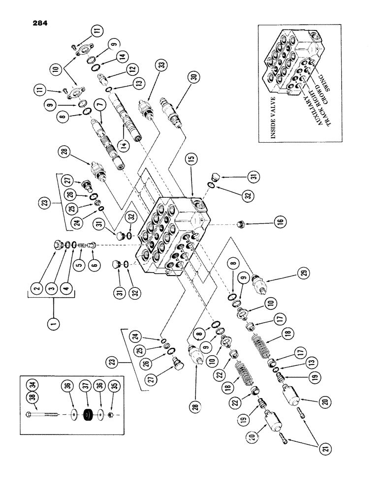
Запчасти Case 980B (284) - 4-SPOOL MAIN CONTROL VALVE, (INSIDE VALVE), (HUSCO) (07) - HYDRAULIC SYSTEM

Схема запчастей Case 980B - (284) - 4-SPOOL MAIN CONTROL VALVE, (INSIDE VALVE), (HUSCO) (07) - HYDRAULIC SYSTEM
FIT
1:1
100%

Артикул

Название

Примечание

Количество

S514782

VALVE

- 4-spool main control, Includes: Ref. 1 - 33

1шт.

S606891

VALVE

- basic, Includes: Ref. 1 - 22

1шт.

1

S105062

PLUG

ASSEMBLY, Includes: Ref. 2 - 4

4шт.

2

S105094

PLUG

1шт.

3

S105095

RING

- back-up

1шт.

4

S105093

O-RING,0.139" Thk x 1.046" ID, -215, Cl 5, 75 Duro

1шт.

5

S13715

SPRING

4шт.

6

S13716

VALVE POPPET

POPPET

4шт.

7

NSS

NOT SOLD SEPARAT

PLUNGER

3шт.

8

S5807

O-RING,0.984" ID x 1.262" OD x 0.139"

8шт.

9

S62092

WIPER

8шт.

10

S13829

PLATE

- seal

8шт.

11

166-25

12 PT SCREW,Flg, 5/16" - 18 x 7/8", Gr 8

SCREW, machine - 3/8" x 1/2" NC

8шт.

12

S62289

END

- plunger

1шт.

13

S6061

O-RING,0.639" ID x 0.09" Width

- .644" ID x .818" OD

2шт.

14

NSS

NOT SOLD SEPARAT

PLUNGER

1шт.

15

NSS

NOT SOLD SEPARAT

HOUSING

1шт.

16

S105060

PLUG

- pipe

2шт.

17

S107817

SEAT

- spring

2шт.

18

S109959

SPRING

4шт.

19

S62290

BOLT

4шт.

20

S62278

CAP

- plunger

4шт.

21

61-616

HEX SOC SCREW,3/8"-16 x 1"

BOLT - 3/8" x 1" NC hex hd Grade 8

8шт.

22

S62288

SEAT

- spring

6шт.

23

S81690

PLUG

- port overload, Includes: Ref. 24 - 27

2шт.

24

S5706

O-RING,0.562" ID x 0.75" OD x 0.93"

- .549" ID x .750" OD

1шт.

25

S93829

BACK-UP RING,0.609" ID x 0.052" Width

- back up

1шт.

26

S6069

O-RING,1.171" ID x 0.116" Width

- 1.171" ID x 1.403" OD

1шт.

27

NSS

NOT SOLD SEPARAT

PLUG - 1-5/16" NPT male

1шт.

28

REF

INSTRUCTION

CARTRIDGE - port relief - set at 2500 PSI - (See Figure 290)

4шт.

29

REF

INSTRUCTION

CARTRIDGE - port relief - set at 3200 PSI - (See Figure 290)

1шт.

30

REF

INSTRUCTION

CARTRIDGE - main relief - set at 3000 PSI - (See Figures 292 or 294)

1шт.

31

S8985

PLUG

- 1-5/16" male

4шт.

32

S6069

O-RING,1.171" ID x 0.116" Width

- 1.171" ID x 1.403" OD

4шт.

33

REF

INSTRUCTION

CARTRIDGE - crowd port relief - "R" series - set at 3200 PSI - (See Figure 290)

1шт.

34

413-868

BOLT,Hex, 1/2" - 13 x 4-1/4", Gr 5

- 1/2" - 13 NC x 4-1/4" Gr 5 - (used on units with PIN 6204051 and after)

2шт.

113-2428

BOLT,Hex, 1/2" - 13 x 5-1/4", Gr 5

Used on units prior to PIN 6204051 Hex, 1/2"-13 x 5 1/4", G5

2шт.

35

131-70

NUT,1/2"-13, GB

NUT, self locking - 1/2" - 13 NC

3шт.

36

196-10

WASHER,.521" x 2" x .134", HDN

flat - 1/2" - (used on units prior to PIN 6204051)

6шт.

37

S110886

MOUNTING PARTS

MOUNT, lord - (used on units prior to PIN 6204051)

3шт.

38

113-425

BOLT,Hex, 1/2" - 13 x 3", Gr 5

(Used on units with PIN 6204051 and after) Hex, 1/2"-13 x 3", G5

1шт.

113-450

BOLT,Hex, 1/2" - 13 x 3-3/4", Gr 5

- 1/2" - 13 NC x 3-3/4" Gr 5 - (used on units prior to PIN 6204051)

1шт.

Выбрано товаров: 42