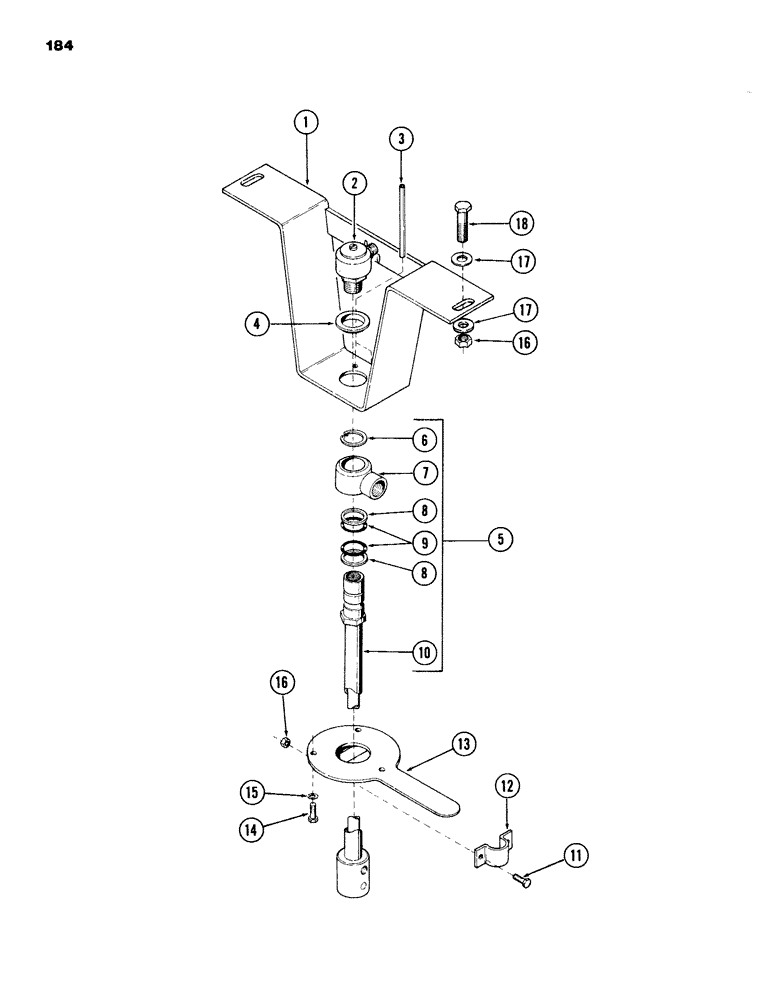
Запчасти Case 980B (184) - INNER SWIVEL, (USED WITH TRACK DRIVE AND TWO SPEED DRIVE), (USED ON UNITS WITH PIN 6204051 & AFTER) (04) - UNDERCARRIAGE

Схема запчастей Case 980B - (184) - INNER SWIVEL, (USED WITH TRACK DRIVE AND TWO SPEED DRIVE), (USED ON UNITS WITH PIN 6204051 & AFTER) (04) - UNDERCARRIAGE
FIT
1:1
100%

Артикул

Название

Примечание

Количество

S612193

PIVOT

SWIVEL ASSY - inner, Includes: Ref. 1 - 10

1шт.

1

S234874

BRACKET

1шт.

2

S209351

FITTING

SWIVEL - (See Figure 186)

1шт.

3

138-169

LOCK PIN,5/16" x 4", Slotted

Pin, 5/16" x 4", Slotted

2шт.

4

S71802

NYLON BEARING,0.756" ID x 1.187" OD x 0.375"

BEARING - nylon

1шт.

5

S229478

SWIVEL CONNECTION

SWIVEL - inner, Includes: Ref. 6 - 10

1шт.

6

C13513

RING

- retaining

1шт.

7

S111313

SLEEVE

- swivel

1шт.

8

A35698

BACK-UP RING

RING - back-up

2шт.

9

S6480

O-RING,0.737" ID x 0.943" OD x 0.103"

2шт.

10

S229479

TUBE,0.746" OD x 23.05" L

ASSY - inner swivel

1шт.

11

113-207

BOLT,Hex, 3/8" - 16 x 1", Gr 5

2шт.

12

S85438

CLAMP

1шт.

13

S237399

LARGE PLATE

PLATE - lower swivel mounting

1шт.

14

113-103

BOLT,Hex, 5/16" - 18 x 1", Gr 5

3шт.

15

192-20

LOCK WASHER,Helical Spring, 0.318" ID, CST, ZND

WASHER, LOCK, 5/16"

3шт.

16

231-1445

NUT,5/16"-18, GB

NUT - lock 5/16" NC

4шт.

17

195-102

WASHER,1/4"

- flat 5/16"

4шт.

18

113-104

BOLT,Hex, 5/16" - 18 x 1-1/4", Gr 5

2шт.

These are part of the S612193 Swivel Assy.

1шт.

Выбрано товаров: 20