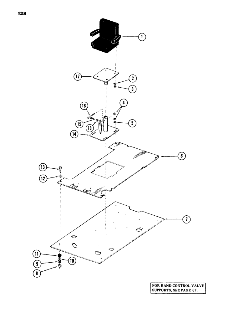
Запчасти Case 980B (128) - TURNTABLE ATTACHING PARTS, (INSIDE OF OPERATORS CAB), (USED ON UNITS WITH PIN 6204025 AND AFTER) (05) - UPPERSTRUCTURE CHASSIS

Схема запчастей Case 980B - (128) - TURNTABLE ATTACHING PARTS, (INSIDE OF OPERATORS CAB), (USED ON UNITS WITH PIN 6204025 AND AFTER) (05) - UPPERSTRUCTURE CHASSIS
FIT
1:1
100%

Артикул

Название

Примечание

Количество

1

REF

INSTRUCTION

SEAT ASSEMBLY - (See Figure 130)

1шт.

2

195-103

WASHER,5/16"

- flat 3/8"

4шт.

3

113-205

BOLT,Hex, 3/8" - 16 x 5/8", Gr 5

NUT - lock 5/16" NC

4шт.

4

131-70

NUT,1/2"-13, GB

NUT - lock 1/2" NC

5шт.

5

S95569

WASHER

- flat 1/2"

4шт.

6

S615051

FLOOR MAT

MAT - floor (Replaces S612923)

1шт.

7

S956073

PLATE - floor (Replaces S955637)

1шт.

8

131-450

NUT,3/4"-10

NUT - lock 3/4" NC

4шт.

9

195-2270

WASHER,13/16" x 3" x .238", HDN

- flat 3/4"

4шт.

10

S114915

WASHER

- flat 3/4"

4шт.

11

S112578

MOUNTING PARTS

MOUNT - center bonded

3шт.

12

S84752

WASHER

- flat 3/4"

4шт.

13

13-1280

BOLT,Hex, 3/4" - 10 x 5", Gr 5

4шт.

14

S612856

BRACKET - seat mounting - (LOWER)

1шт.

15

113-207

BOLT,Hex, 3/8" - 16 x 1", Gr 5

1шт.

16

86505993

BOLT,Hex, 1/2" - 13 x 4", Gr 5

1шт.

17

S513120

BRACKET - seat mounting (UPPER)

1шт.

18

87016560

JAM NUT,Jam, 3/8"-16, G5

1шт.

Выбрано товаров: 18