Запчасти Case 880 (286) - BACKHOE BUCKETS, HEAVY DUTY BUCKET WITH CASE CUTTING EDGE AND TEETH (USED WITH EXTENDAHOE) (19) - BUCKETS

Схема запчастей Case 880 - (286) - BACKHOE BUCKETS, HEAVY DUTY BUCKET WITH CASE CUTTING EDGE AND TEETH (USED WITH EXTENDAHOE) (19) - BUCKETS
FIT
1:1
100%

Артикул

Название

Примечание

Количество

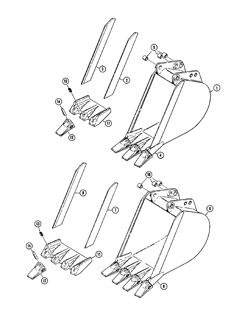
1

D61771

BUCKET - heavy duty, 20 inch, Includes: Ref. 2 - 5

1шт.

2

D61218

BLADE - cutting, R.H. side

1шт.

3

D61217

EDGE

BLADE - cutting, L.H. side

1шт.

4

D95612

CUTTING EDGE AND TEETH - center (Parts list below)

1шт.

5

D30756

BUSHING,51.02mm ID x 63.5mm OD x 31.8mm L

- bucket ear

6шт.

6

D61435

BUCKET - heavy duty, 24 inch, Includes: Ref. 7 - 10

1шт.

7

D61218

BLADE - cutting, R.H. side, heavy duty bucket (24 inch)

1шт.

8

D61217

EDGE

BLADE - cutting, L.H. side, heavy duty bucket (24 inch)

1шт.

9

D95613

CUTTING EDGE AND TEETH - center (Parts list below), heavy duty bucket (24 inch)

1шт.

10

D30756

BUSHING,51.02mm ID x 63.5mm OD x 31.8mm L

- bucket ear, heavy duty bucket (24 inch)

6шт.

6

D61766

BUCKET - heavy duty, 29 inch, Includes: Ref. 7 - 10

1шт.

7

D61218

BLADE - cutting, R.H. side, heavy duty bucket (29 inch)

1шт.

8

D61217

EDGE

BLADE - cutting, L.H. side, heavy duty bucket (29 inch)

1шт.

9

D95614

CUTTING EDGE AND TEETH - center (Parts list below), heavy duty bucket (29 inch)

1шт.

10

D30756

BUSHING,51.02mm ID x 63.5mm OD x 31.8mm L

- bucket ear, heavy duty bucket (29 inch)

6шт.

D95612

CUTTING EDGE AND TEETH - center (Three teeth), Includes: Ref. 11 - 14

1шт.

D95613

CUTTING EDGE AND TEETH - center (Four teeth), Includes: Ref. 11 - 14

1шт.

D95614

CUTTING EDGE AND TEETH - center (Four teeth), Includes: Ref. 11 - 14

1шт.

11

NSS

NOT SOLD SEPARAT

CUTTING EDGE - bucket, cutting edge and teeth

1шт.

12

S91259

POINT

- tooth, cutting edge and teeth

3-4шт.

13

S90192

LOCK

- point, cutting edge and teeth

3-4шт.

14

S91265

PIN

- point, cutting edge and teeth

3-4шт.

Выбрано товаров: 22