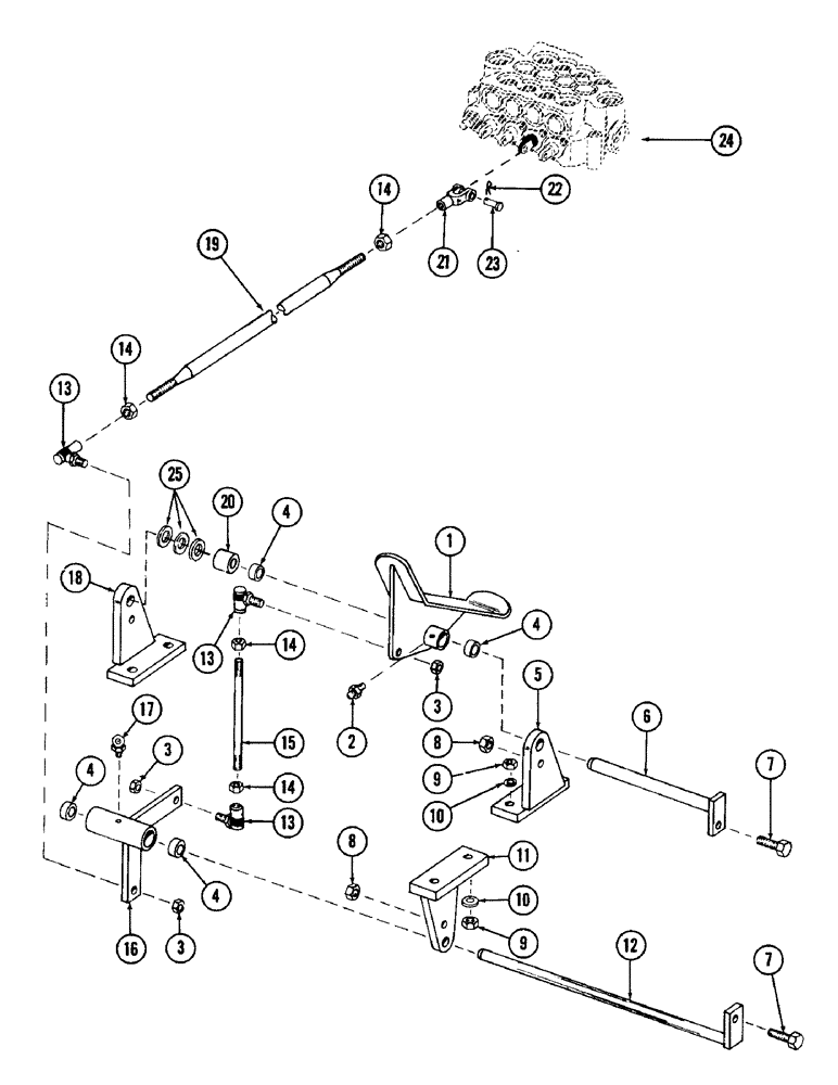
Запчасти Case 880 (218) - LEFT TRACK CONTROL AND LINKAGE (05) - UPPERSTRUCTURE CHASSIS

Схема запчастей Case 880 - (218) - LEFT TRACK CONTROL AND LINKAGE (05) - UPPERSTRUCTURE CHASSIS
FIT
1:1
100%

Артикул

Название

Примечание

Количество

1

S504577

PEDAL, left track control, Includes: Ref. 2

1шт.

2

219-8

LUBE NIPPLE,1/4" - 28 NPTF

NIPPLE, LUBE, 1/4"-28 NPT x .54" lg

1шт.

3

131-5

LOCK NUT,3/8"-16, GB

NUT, self locking - 3/8"

3шт.

4

A30586

NEEDLE BEARING

BEARING, needle

4шт.

5

S218947

BRACKET

1шт.

6

S218965

SHAFT ASSY.

SHAFT

1шт.

7

113-17

BOLT,Hex, 1/4" - 20 x 1-1/4", Gr 5

2шт.

8

131-2

NUT,1/4"-20, GB

NUT, self locking - 1/4" - 20 NC

2шт.

9

131-10

NUT,1/2"-13, GB

NUT, self locking - 1/2" - 20 NC

4шт.

10

95-8

WASHER,1/2"

plain 1/2"

4шт.

11

S218939

BRACKET

1шт.

12

S218961

SHAFT ASSY.

SHAFT

1шт.

13

S215594

BALL

JOINT, ball

3шт.

14

86585245

SPECIAL NUT,JAM, 5/8" - 18

jam - 3/8" - 24 NF

4шт.

15

S91681

ROD

connecting

1шт.

16

S220217

BELLCRANK, Includes: Ref. 17

1шт.

17

219-8

LUBE NIPPLE,1/4" - 28 NPTF

NIPPLE, LUBE, , straight 1/4"-28 NPT x .54" lg

1шт.

18

S218938

BRACKET

1шт.

19

S220464

ROD, connecting

1шт.

20

S110843

TUBE

SPACER - (Replaces S91212)

1шт.

21

213-4

ADJUSTABLE CLEVIS,3/8"-24 x 2 1/2"

YOKE

1шт.

22

132-67

COTTER PIN,5/32" x 3/4"

Pin, Split (Cotter), 5/32" x 3/4"

1шт.

23

S10767

PIN

clevis - 3/8" dia. x .891" grip length

1шт.

24

REF

INSTRUCTION

VALVE, 4 spool main - (For breakdown, see figure 200)

1шт.

25

195-41

WASHER,5/8"

3шт.

Выбрано товаров: 25