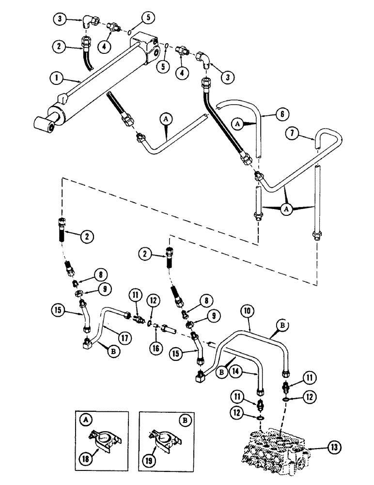
Запчасти Case 880B (242) - "Y" BOOM CROWD CYLINDER TUBING (07) - HYDRAULIC SYSTEM

Схема запчастей Case 880B - (242) - "Y" BOOM CROWD CYLINDER TUBING (07) - HYDRAULIC SYSTEM
FIT
1:1
100%

Артикул

Название

Примечание

Количество

1

REF

INSTRUCTION

CYLINDER, crowd - (For breakdown, see Figure 244)

1шт.

2

S15468

HOSE

high pressure - 3/4" ID x 28" long - (With 1-1/16" - 12 female pressed on couplings)

4шт.

3

218-5231

ELBOW,90 Degree, 1 1/16"-12, 37 Degree x 1 1/16"-12, 37 Degree Fem Sw

90 degrees swivel - 1-1/16" - 12 male x 1-1/16" - 12 female

2шт.

4

S7968

CONNECTOR, ELEC

ADAPTER, flared - 1-1/16" - 12 male x 1-1/16" - 12 female, Includes: Ref. 5

2шт.

5

S6065

RING

"O" RING

2шт.

6

S502586

TUBE, hydraulic 1" OD

1шт.

7

S502585

TUBE, hydraulic 1" OD

1шт.

8

218-797

REDUCER,37 Degree, 1" x 3/4" Tube

ADAPTER, reducing - (1" to 3/4" tube reduction) - 1-1/16" 12 male, Includes: Ref. 9

2шт.

9

218-348

TUBE NUT,37 Degree, 1 5/16"-12, Type B

NUT, sleeve - (1" tube) - 1-5/16" - 12 female

2шт.

10

S502079

TURBINE,1.25" OD

TUBE, hydraulic

1шт.

11

S7972

CONNECTOR, ELEC

ADAPTER, flared - 1-5/16" - 12 male x 1-5/16" - 12 male, Includes: Ref. 12

3шт.

12

S6069

O-RING,1.171" ID x 0.116" Width

"O" RING

3шт.

13

REF

INSTRUCTION

VALVE, 4-spool main hydraulic - (For breakdown, see Figure 198)

1шт.

14

S502078

TUBE ASSY.,1.25" OD x 9.1, 19" L

TUBE, hydraulic

1шт.

15

S211849

LINE,1.25" OD

TUBE, hydraulic

2шт.

16

D56252

FITTING

REGULATOR, flow

1шт.

17

S502109

LINE,1.25" OD

TUBE, hydraulic

1шт.

18

S91602

CLAMP

tube

4шт.

19

S93266

CLAMP

tube

3шт.

Выбрано товаров: 19