Запчасти Case 880B (014) - VALVE MECHANISM, 336BDT DIESEL ENGINE (01) - ENGINE

Схема запчастей Case 880B - (014) - VALVE MECHANISM, 336BDT DIESEL ENGINE (01) - ENGINE
FIT
1:1
100%

Артикул

Название

Примечание

Количество

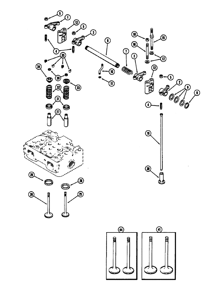
1

A148137

ROCKER ARM

ARM ASSEMBLY - rocker, exhaust valves (1st and 3rd cylinders), Includes: Ref. 4 and 5

2шт.

2

A148138

ARM

ASSEMBLY - rocker, exhaust valves (2nd and 4th cylinders), Includes: Ref. 4 and 5

2шт.

3

A148136

ARM

ASSEMBLY - rocker, intake valves, Includes: Ref. 4 and 5

4шт.

4

A21105

ADJUSTMENT SCREW,3/8" - 24 x 1 9/16"

SCREW - adjusting rocker arm

8шт.

5

129-123

NUT,3/8"-24, G5

- 3/8" NF hex, jam (Replaces 129-163)

8шт.

6

A150545

SHAFT

- rocker arm

2шт.

7

A27877

SPRING

- rocker arm shaft

2шт.

8

A27878

WASHER

- 7/8" x 1-5/16" x 1/32" (22.23 x 33.34 x 0.79 MM)

1шт.

9

B18206

SNAP RING,#87, Ext

Ring, Snap, , rocker arm shaft #87, Ext

4шт.

10

A58657

TUBE

- oil, rocker arm shaft

2шт.

11

A27880

O-RING,0.07" Thk x 0.18" ID, -8, Cl 5, 75 Duro

"O" RING - 3/16" x 5/16" x 1/16" (4.76 x 7.94 x 1.59 MM)

2шт.

12

A61128

BRACKET

- rocker arm shaft

4шт.

15

A67121

STUD

- 7/16" NC x 5-7/8"

4шт.

16

A58659

STUD

- 7/16" NC x 4-5/16"

4шт.

17

195-29

WASHER,7/16"

- x 15/16" x 1/16" 7/16"

8шт.

18

129-104

NUT,7/16"-14, G5

4шт.

19

A141841

ROD

- push

8шт.

20

A20865

TAPPET

LIFTER - push rod

8шт.

21

A21857

TAPPET

LIFTER - push rod (0.010" oversize) (0.254 MM)

8шт.

25

NSS

NOT SOLD SEPARAT

VALVE - exhaust (Order ref 45)

4шт.

26

A66192

INSERT

- exhaust valve seat

4шт.

27

A41783

GUIDE

- intake and exhaust valves (Set of 2)

8шт.

28

NSS

NOT SOLD SEPARAT

VALVE - intake (Order ref 41)

4шт.

29

A60557

INSERT

- intake valve seat (Order ref 42)

4шт.

30

A58628

SEAL,8mm ID x 13.77mm OD x 2.16mm Thk

- valve stem

8шт.

31

A66328

SEAT

- valve springs

8шт.

32

A66444

SPRING

- valves

8шт.

33

A66336

ROTATOR

ROTO COIL - exhaust valve

4шт.

34

A44645

KIT

RETAINER - intake valve (Set of 2 retainers, with 4 locks)

2шт.

35

A27872

LOCK

- valve spring

16шт.

41

A41754

VALVE

- intake (Set of 2)

2шт.

45

A41753

VALVE

- exhaust (Set of 2)

2шт.

Выбрано товаров: 32