Запчасти Case 880B (032) - FUEL INJECTION SYSTEM, 336BDT DIESEL ENGINE (02) - FUEL SYSTEM

Схема запчастей Case 880B - (032) - FUEL INJECTION SYSTEM, 336BDT DIESEL ENGINE (02) - FUEL SYSTEM
FIT
1:1
100%

Артикул

Название

Примечание

Количество

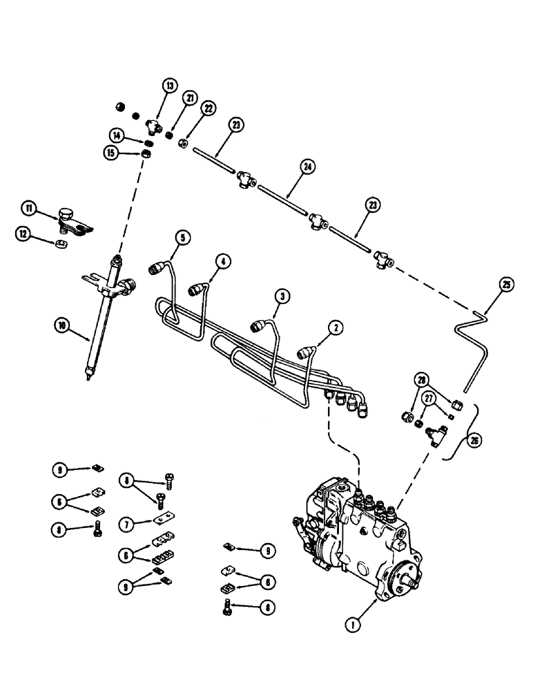
1

REF

INSTRUCTION

PUMP - fuel injection (See Figure 38)

1шт.

2

A58702

TUBE

- fuel injection, #1 cylinder

1шт.

3

A58703

TUBE

- fuel injection, #2 cylinder

1шт.

4

A58704

TUBE

- fuel injection, #3 cylinder

1шт.

5

A58705

TUBE

- fuel injeciton, #4 cylinder

1шт.

6

A58709

BRACKET

- injection tube

8шт.

7

A58710

PLATE

- injection tube bracket (For 4 lines)

1шт.

8

163-19

SCREW,Sl Hex Wshr Hd, #10 - 24 x 1"

- #10 x 1" NC hex slotted

4шт.

9

131-612

SPRING NUT,Flat, #10 - 24, 0.022" Thk

NUT - #10 NC Tinnerman

4шт.

10

REF

INSTRUCTION

NOZZLE - fuel injection (See Figure 40)

4шт.

11

A58695

CLAMP

- nozzle

4шт.

12

A58696

SPACER

- nozzle clamp

4шт.

13

A58960

TEE,1/2" - 25 NPT x 1/2" - 25 NPT x 9/16" - 24 NPT

FITTING - nozzle leak off

4шт.

14

A58962

GROMMET,9.14mm ID x 12.82mm OD x 5.28mm Thk

- cap

4шт.

15

A58961

NUT

- cap

4шт.

21

222-102

SLEEVE,1/4" Tube

8шт.

22

87017024

TUBE NUT,1/2"-24

NUT - for 1/4" tube

8шт.

23

A58965

TUBE

- leak off, 4-5/8" long (117.48 MM)

2шт.

24

A58964

TUBE

- leak off, 5-5/8" long (142.88 MM)

1шт.

25

A58963

TUBE

- leak off, #1, Serial Range: nozzle-valve

1шт.

26

A59097

VALVE

ASSEMBLY - restrictor, leak off, Includes: Ref. 27 and 28

1шт.

27

222-102

SLEEVE,1/4" Tube

2шт.

28

87017024

TUBE NUT,1/2"-24

NUT - for 1/4" tube

2шт.

Выбрано товаров: 23