Запчасти Case 880B (154) - INNER BRAKE SWIVEL AND RELATED PARTS (04) - UNDERCARRIAGE

Схема запчастей Case 880B - (154) - INNER BRAKE SWIVEL AND RELATED PARTS (04) - UNDERCARRIAGE
FIT
1:1
100%

Артикул

Название

Примечание

Количество

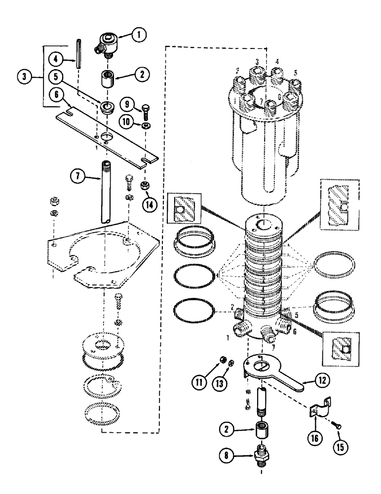
S39517

SWIVEL CONNECTION

SWIVEL, inner brake, Includes: Ref. 1 - 8

1шт.

1

REF

INSTRUCTION

SWIVEL, track brake - (For swivel, see Figure 156)

1шт.

2

221-336

COUPLING,Pipe, 1/4" NPT

female Pipe, 1/4" NPT

2шт.

S115683

COUPLING

not a sub.

1шт.

3

NSS

NOT SOLD SEPARAT

PLATE, guide, Includes: Ref. 4 - 6

1шт.

4

138-167

PIN, roll - 5/16" x 4" long

2шт.

5

S71802

NYLON BEARING,0.756" ID x 1.187" OD x 0.375"

BEARING, nylon

1шт.

6

S71801

PLATE

1шт.

7

221-719

PIPE,Nipple, 1/4" NPT x 24 1/2"

- 1/4" x 24-1/4" long

1шт.

8

218-1022

HYD CONNECTOR,7/16"-20, 37 Degree x 1/4"-18, NPTF

ADAPTER, flared - 7/16" - 20 male x 1/4" NPT male

1шт.

9

113-208

BOLT,Hex, 3/8" - 16 x 1-1/4", Gr 5

2шт.

10

195-103

WASHER,5/16"

flat - 3/8"

4шт.

11

231-1445

NUT,5/16"-18, GB

NUT, self locking - 5/16" - 18 NC

2шт.

12

S209353

PLATE

lower swivel mounting

1шт.

13

195-102

WASHER,1/4"

flat 1/4"

2шт.

14

131-52

NUT,3/8"-16, GC

NUT, self locking - 3/8" - 16 NC

2шт.

15

113-104

BOLT,Hex, 5/16" - 18 x 1-1/4", Gr 5

2шт.

16

A55980

CLAMP

1шт.

Выбрано товаров: 18