Запчасти Case 880B (082) - CAB AND ATTACHING PARTS, (DOOR AND ATTACHING PARTS), (USED ON UNITS W/PIN 6201601 THRU 6201876) (05) - UPPERSTRUCTURE CHASSIS

Схема запчастей Case 880B - (082) - CAB AND ATTACHING PARTS, (DOOR AND ATTACHING PARTS), (USED ON UNITS W/PIN 6201601 THRU 6201876) (05) - UPPERSTRUCTURE CHASSIS
FIT
1:1
100%

Артикул

Название

Примечание

Количество

S955032

CAB

operator - (Includes Figures 76 thru 80 and 84 thru 86) - (Order S956137 on Figure 88), Includes: Ref. 1 - 18

1шт.

1

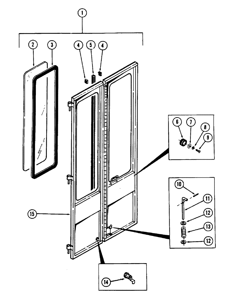
S955039

DOOR ASSEMBLY, Includes: Ref. 1 - 18

1шт.

2

S108102

WINDOW, plastic

2шт.

3

S109778

SEAL

SETTING MATERIAL - (Bulk) - 2 pieces - 92" long

1шт.

4

S109777

SEAL

- (Bulk) - 1 piece - 6" long - (Cut into 4 pieces 1.3" length)

1шт.

5

S109508

SEAL

- (Bulk) - 1 piece - 59" long

1шт.

6

S109512

BUMPER

door stop

1шт.

7

S109505

WASHER, fender

1шт.

8

195-513

WASHER,#10

flat - 7/32"

1шт.

9

174-102

SCREW,Sl Rnd Hd, #10 - 32 x 1"

machine - No. 10 - 32 NF x 1"

1шт.

10

S90087

PIN

roll

1шт.

11

S231613

PIN

1шт.

12

195-102

WASHER,1/4"

flat 1/4"

2шт.

13

S62977

SPRING

1шт.

14

S90080

LOCK

door

1шт.

15

NSS

NOT SOLD SEPARAT

DOOR, weldment

1шт.

16

REF

INSTRUCTION

INSULATION - (See ref 3 on figure 80)

1шт.

17

REF

INSTRUCTION

INSULATION - (See ref 4 on figure 80)

1шт.

18

S95517

ADHESIVE

- (Not illustrated)

1шт.

S104954

KEY

for lock #1363

1шт.

N60017

KEY

new style cab

1шт.

Выбрано товаров: 21