Запчасти Case 880B (084) - CAB AND ATTACHING PARTS, (INSULATION), (USED ON UNITS W/PIN 6201601 THRU 6201876) (05) - UPPERSTRUCTURE CHASSIS

Схема запчастей Case 880B - (084) - CAB AND ATTACHING PARTS, (INSULATION), (USED ON UNITS W/PIN 6201601 THRU 6201876) (05) - UPPERSTRUCTURE CHASSIS
FIT
1:1
100%

Артикул

Название

Примечание

Количество

S955032

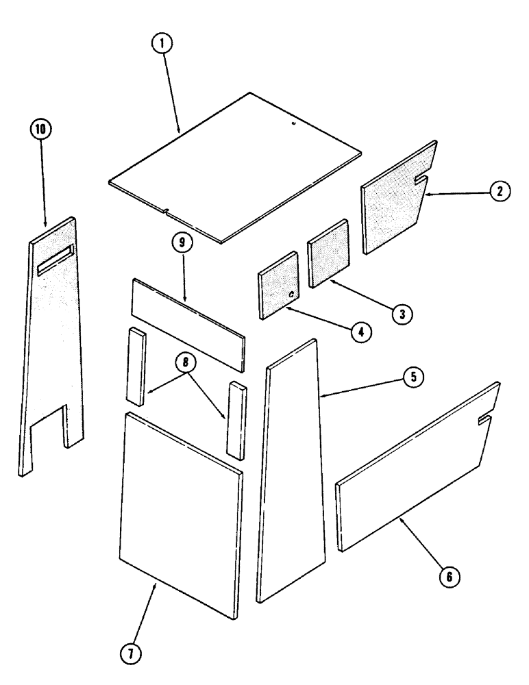
CAB

operator - (Includes Figures 76 thru 82) - (Order S956137 on Figure 88), Includes: Ref. 1 - 10

1шт.

1

S231409

SHROUD ASSY.

INSULATION - (Top)

1шт.

2

S108110

SLEEVE CYLINDER

INSULATION - (Lower left front)

1шт.

3

S108112

INSULATOR

INSULATION, door - (Included in door assembly, ref 1 on Figure 96)

1шт.

4

S108113

INSULATOR

INSULATION, door - (Included in door assembly, ref 1 on Figure 96)

1шт.

5

S108109

SLEEVE CYLINDER

INSULATION - (Right rear)

1шт.

6

S108108

SHROUD ASSY.

INSULATION - (Lower right front)

1шт.

7

S108105

SLEEVE CYLINDER

INSULATION - (Lower rear)

1шт.

8

S108107

SLEEVE CYLINDER

INSULATION - (Left and right rear)

2шт.

9

S108106

SLEEVE CYLINDER

INSULATION - (Rear top)

1шт.

10

S108111

SLEEVE CYLINDER

INSULATION - (Left rear)

1шт.

Выбрано товаров: 0