Запчасти Case 880C (200) - HYDRAULIC RESERVOIR (07) - HYDRAULIC SYSTEM

Схема запчастей Case 880C - (200) - HYDRAULIC RESERVOIR (07) - HYDRAULIC SYSTEM
FIT
1:1
100%

Артикул

Название

Примечание

Количество

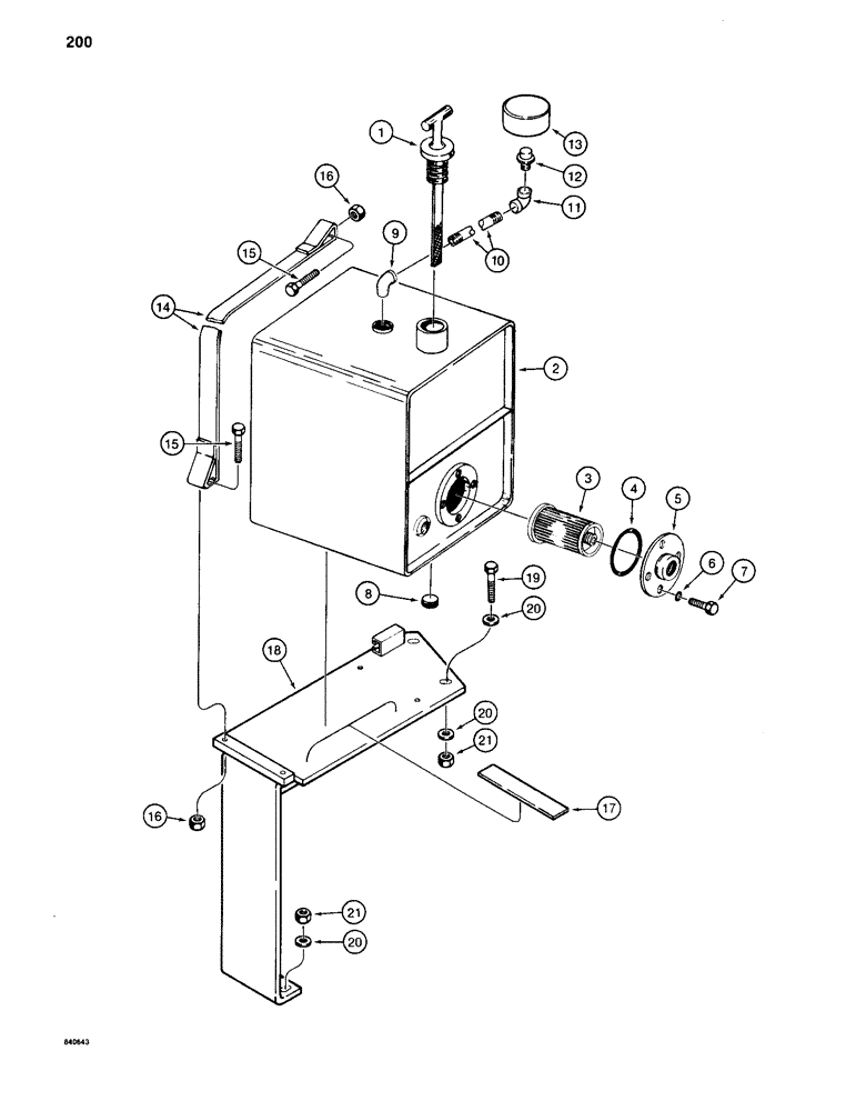
1

S93220

DIPSTICK

ASSEMBLY - hydraulic reservoir

1шт.

2

S514390

TANK

RESERVOIR - hydraulic oil

1шт.

3

S513507

FILTER

SCREEN - suction

1шт.

4

A27842

O-RING,0.139" Thk x 4.234" ID, -244, Cl 5, 75 Duro

- mounting flange

1шт.

5

S200926

FLANGE - screen mounting

1шт.

6

D26270

WASHER, SEALING

WASHER - special sealing

4шт.

7

113-172

BOLT,Hex, 5/16" - 18 x 1", Gr 8

4шт.

8

221-845

PLUG,Hex Soc, 3/4"-14

- drain, 3/4" NPT

1шт.

9

217-1020

90 ELBOW,3/4" - 14 Female x 3/4" - 14 Male

Street 90º, 3/4"-14 Female x 3/4"-14 Male

1-2шт.

10

221-226

NIPPLE, LUBE

NIPPLE - pipe, 3/4" NPT x 7-1/2"

1шт.

11

217-1055

ELBOW,3/4" - 14 NPTF Female

- 90 degree, female, 3/4" NPT

1шт.

12

S115101

ADAPTER

- breather

1шт.

13

S115102

AIR CLEANER

BREATHER - hydraulic reservoir

1шт.

14

S92073

STRAP

- reservoir mounting

2шт.

15

113-219

BOLT,Hex, 3/8" - 16 x 2", Gr 5

- hex head, 3/8" - 16 NC x 1-3/4"

4шт.

16

131-52

NUT,3/8"-16, GC

NUT - hex, 3/8" - 16 NC

4шт.

17

S94118

PAD

- rubber

2шт.

18

S615299

BRACKET - reservoir mounting

1шт.

19

113-412

BOLT,Hex, 1/2" - 13 x 1-3/4", Gr 5

2шт.

20

S95569

WASHER

- flat, 1/2", hardened

6шт.

21

131-70

NUT,1/2"-13, GB

NUT - hex, 1/2" - 13 NC

4шт.

Выбрано товаров: 21