Запчасти Case 880C (266) - FOUR SPOOL VALVE - OUTSIDE, BEFORE PIN 6205236 (07) - HYDRAULIC SYSTEM

Схема запчастей Case 880C - (266) - FOUR SPOOL VALVE - OUTSIDE, BEFORE PIN 6205236 (07) - HYDRAULIC SYSTEM
FIT
1:1
100%

Артикул

Название

Примечание

Количество

S514839

VALVE

CONTROL VALVE ASSEMBLY - outside, without leveler, Includes: Ref. 1 - 35

1шт.

S514840

VALVE

CONTROL VALVE ASSEMBLY - outside, with leveler, Includes: Ref. 1 - 35

1шт.

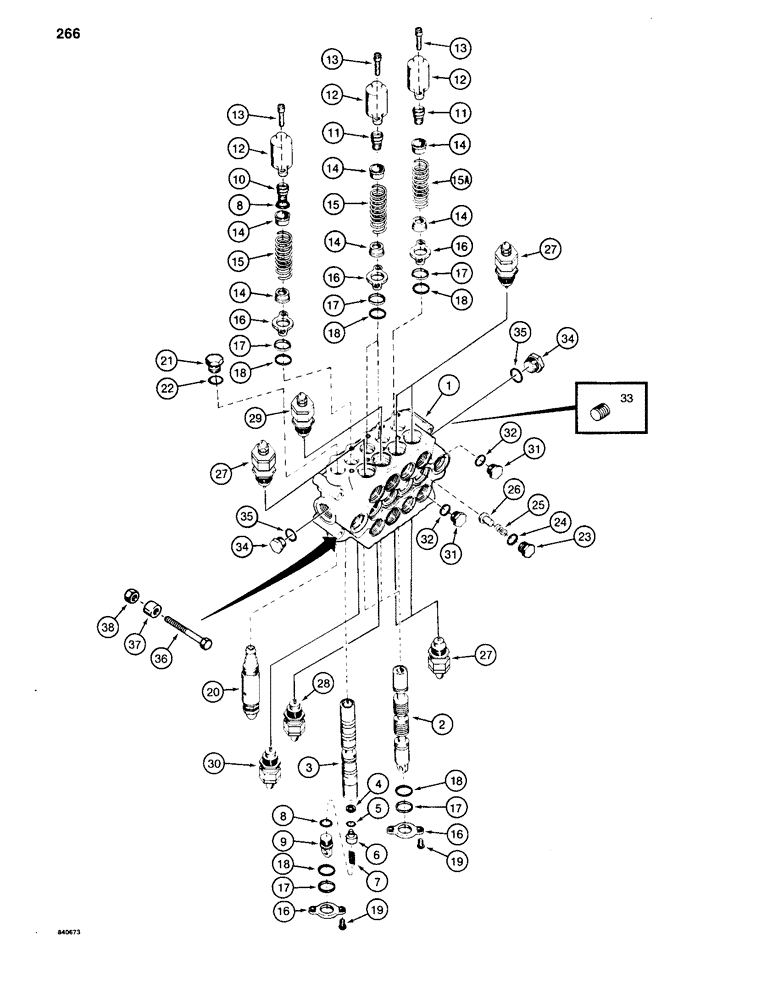
1

NSS

NOT SOLD SEPARAT

HOUSING - control valve

1шт.

2

NSS

NOT SOLD SEPARAT

SPOOL - left-hand and center

3шт.

3

NSS

NOT SOLD SEPARAT

SPOOL - right-hand only

1шт.

4

S84098

BACK-UP RING,1/2" ID x 11/16" OD

BACKUP RING - right-hand spool

1шт.

5

N8537

O-RING,0.103" Thk x 0.487" ID, -112, Cl 7, 75 Duro

- poppet, right-hand spool

1шт.

6

S62291

VALVE POPPET

POPPET - right-hand spool

1шт.

7

S62189

SPRING

- internal, right-hand spool

1шт.

8

218-5006

O-RING,0.087" Thk x 0.644" ID, -908, Cl 6, 90 Duro

8-1, 90 Duro, .644" ID x .087" Thk, right-hand spool ends

2шт.

9

S62289

END

EYE - right-hand spool

1шт.

10

S62290

BOLT

- special, right-hand spool only

1шт.

11

S62292

BOLT

- special, left-hand and center spools

3шт.

12

S62278

CAP

- spool

4шт.

13

61-616

HEX SOC SCREW,3/8"-16 x 1"

BOLT - hex sprocket head, 3/8" - 16 NC x 1", grade 8

8шт.

14

S62288

SEAT

- spring

8шт.

15

S104822

SPRING

- spool centering, right-hand and center spools

3шт.

15a

S81915

VALVE SPRING

SPRING - spool centering, left-hand spool only

1шт.

16

S13829

PLATE

- seal retaining

8шт.

17

S62092

WIPER

- spool

8шт.

18

A7623

O-RING,0.139" Thk x 0.984" ID, -214, Cl 5, 75 Duro

- spool

8шт.

19

61-68

HEX SOC SCREW,3/8"-16 x 1/2"

BOLT - hex socket head, 3/8" - 16 NC x 1/2"

8шт.

20

S62112

CARTRIDGE

MAIN RELIEF VALVE - parts list Figure 274

1шт.

S105090

PLUG

ASSEMBLY - main relief valve, Includes: Ref. 21 and 22

1шт.

21

S13707

PLUG

- main relief valve

1шт.

22

A7623

O-RING,0.139" Thk x 0.984" ID, -214, Cl 5, 75 Duro

- plug

1шт.

S105089

PLUG

ASSEMBLY - check valve, Includes: Ref. 23 and 24

4шт.

23

S13714

PLUG

- check valve

1шт.

24

A7623

O-RING,0.139" Thk x 0.984" ID, -214, Cl 5, 75 Duro

- plug

1шт.

25

S13715

SPRING

- check valve

4шт.

26

S13716

VALVE POPPET

POPPET - check valve

4шт.

27

S616868

VALVE

CIRCUIT RELIEF VALVE - parts list Figure 276

5шт.

28

S616867

VALVE

CIRCUIT RELIEF VALVE - hoist circuit, front port, parts list Figure 276

1шт.

29

S616862

VALVE

CIRCUIT RELIEF VALVE - hoist circuit, rear port, parts list Figure 276

1шт.

30

S616863

VALVE

CIRCUIT RELIEF VALVE - tool circuit, front port, parts list Figure 276

1шт.

REF

INSTRUCTION

CONTROL VALVE ASSEMBLY - outside, for specific assembly numbers and applications, see Figure 266, Includes: Ref. 31 - 35

1шт.

31

273916

PLUG,Hex, 1-5/16" - 12 ORB

Outlet ports, LH spool, if used, Includes Ref. 32 Hex Hd, 1 5/16"-12 ORB

2шт.

32

218-5010

O-RING,0.116" Thk x 1.171" ID, -916, Cl 6, 90 Duro

- plug

1шт.

33

221-845

PLUG,Hex Soc, 3/4"-14

- power beyond, square socket head, 3/4" NPT, used on S514840 valve only

1шт.

34

S62190

PLUG

- end ports, Includes: Ref. 35

1-2шт.

35

218-5010

O-RING,0.116" Thk x 1.171" ID, -916, Cl 6, 90 Duro

- plug

1шт.

36

113-432

BOLT,Hex, 1/2" - 13 x 4-3/4", Gr 5

3шт.

37

S113313

SPACER

- valve mounting

3шт.

38

131-70

NUT,1/2"-13, GB

NUT - hex, self-locking, 1/2" - 13 NC

3шт.

Выбрано товаров: 44