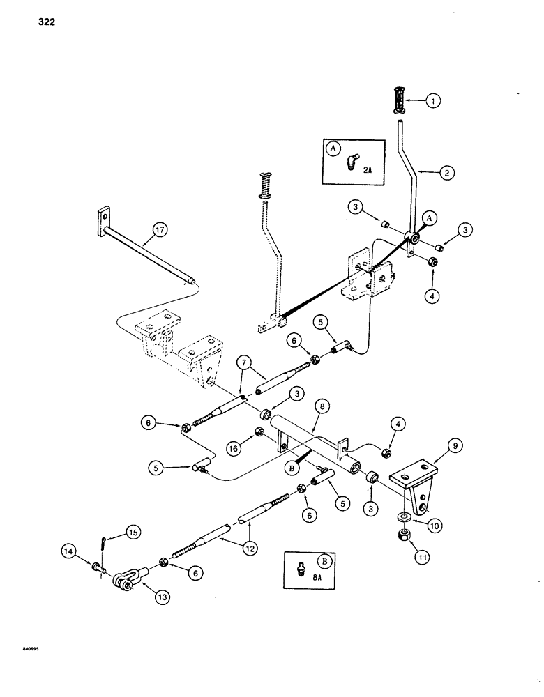
Запчасти Case 880C (322) - CONTROLS - BEFORE PIN 6205236, LEVELER CONTROL LEVER AND LINKAGE (07) - HYDRAULIC SYSTEM

Схема запчастей Case 880C - (322) - CONTROLS - BEFORE PIN 6205236, LEVELER CONTROL LEVER AND LINKAGE (07) - HYDRAULIC SYSTEM
FIT
1:1
100%

Артикул

Название

Примечание

Количество

1

S109220

GRIP

- control lever

1шт.

2

S613195

CONTROL LEVER - leveler, Includes: Ref. 2A

1шт.

2a

219-43

LUBE NIPPLE,65 Degree Elbow, 1/4" - 28 NPTF

GREASE FITTING - 65 degree, 1/4" - 28 NF taper

1шт.

3

A30586

NEEDLE BEARING

- control lever and bellcrank

4шт.

4

131-493

NUT

- hex, self-locking, 3/8" - 24 NF

2шт.

5

D38296

JOINT

BALL JOINT - connecting rods

3шт.

6

86585245

SPECIAL NUT,JAM, 5/8" - 18

JAM NUT - 3/8" - 24 NF

4шт.

7

S216707

ROD - connecting

1шт.

8

S236290

BELLCRANK - connecting rods, Includes: Ref. 8A

1шт.

8a

219-8

LUBE NIPPLE,1/4" - 28 NPTF

NIPPLE, LUBE, , straight, taper 1/4"-28 NPT x .54" lg

1шт.

9

S218939

BRACKET - bellcrank support

1шт.

10

95-8

WASHER,1/2"

flat 1/2"

2шт.

11

131-70

NUT,1/2"-13, GB

NUT - hex, self-locking, 1/2" - 13 NC

2шт.

12

S219272

ROD, CONNECTING

ROD - connecting

1шт.

13

213-4

ADJUSTABLE CLEVIS,3/8"-24 x 2 1/2"

CLEVIS - at valve

1шт.

14

S10767

PIN

CLEVIS PIN - at valve

1шт.

15

132-67

COTTER PIN,5/32" x 3/4"

Pin, Split (Cotter), 5/32" x 3/4"

1шт.

16

231-2446

NUT,3/8"-24, GB

NUT - hex, self-locking, 3/8" - 24 NC

1шт.

17

S218966

SHAFT - pivot

1шт.

Выбрано товаров: 19