Запчасти Case 880C (342) - SWING BRAKE (04) - UNDERCARRIAGE

Схема запчастей Case 880C - (342) - SWING BRAKE (04) - UNDERCARRIAGE
FIT
1:1
100%

Артикул

Название

Примечание

Количество

S56457

BRAKE LINE

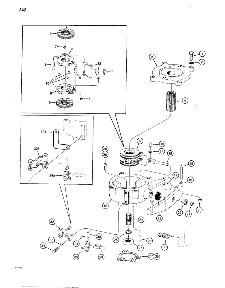
BRAKE ASSEMBLY - swing, used before PIN 6205370, Includes: Ref. 1 - 12

1шт.

S616468

BRAKE ASSEMBLY - swing, used on PIN 6205370 thru 6205624, Includes: Ref. 1 - 12

1шт.

S616469

BRAKE ASSY.

BRAKE ASSEMBLY - swing, used on PIN 6205625 and after, Includes: Ref. 1 - 12

1шт.

1

113-417

BOLT,Hex, 1/2" - 13 x 1-1/4", Gr 5, Full Thd

4шт.

2

192-23

LOCK WASHER,1/2"

WASHER, LOCK, 1/2"

4шт.

3

S38006

COVER

- brake housing

1шт.

4

S240926

COUPLING,13T Internal / 25T External

- splined

1шт.

5

S207618

BRAKE

ASSEMBLY - disc, Includes: Ref. 6 - 12

1шт.

6

S81615

GASKET

DISC - brake

2шт.

S216242

CLUTCH DISC

ACTUATOR ASSEMBLY - brake, Includes: Ref. 7 - 12

1шт.

7

86637933

JAM NUT,5/16" - 24, Gr 5

Jam, 5/16"- 24, G5

2шт.

8

S68704

DISC

ACTUATOR - brake

2шт.

9

S68705

SPRING

- actuator

2шт.

10

S68703

BALL

- actuator, 3/4" diameter

3шт.

11

S105785

STUD

-, Serial Range: link-actuator

2шт.

12

S68707

LINK

- brake actuator

2шт.

13

S66646

BOLT,5/16" x 3/4"

- brake, Serial Range: rod-link

1шт.

14

192-21

LOCK WASHER,3/8"

WASHER, LOCK, 3/8"

1шт.

15

S64912

YOKE

CLEVIS AND ROD - brake actuator

1шт.

16

S53226

HOUSING

- brake, S56457 and S616468 brake assemblies only

1шт.

16

S603824

HOUSING

- brake, S616469 brake assembly only

1шт.

17

S64921

BUSHING

- brake, Serial Range: housing-lever

1шт.

18

S64920

BOLT,5/16" x 2"

- brake, Serial Range: housing-lever

1шт.

19

S203304

LEVER

- brake actuator

1шт.

20

131-205

LOCK NUT,5/16"-18

NUT - hex, self-locking, 5/16" - 18 NC

1шт.

21

86585245

SPECIAL NUT,JAM, 5/8" - 18

JAM NUT - hex, 3/8" - 24 NF

1шт.

22

S64911

NUT

- special, ball seat

1шт.

23

S64913

BOOT

- dust, housing

1шт.

24

S203305

GEAR SHAFT

SHAFT - connecting, splined

1шт.

25

B18206

SNAP RING,#87, Ext

RING, Snap, , shaft #87, Ext

1шт.

26

S64915

DOWEL

PIN - brake, Serial Range: housing-gearbox

1шт.

27

S64311

OIL SEAL

- oil

1шт.

28

S64910

PLUNGER

- brake actuator lever

1шт.

29

S203959

LEVER

- cable to plunger, S56457 brake assembly only

1шт.

29a

S230202

LEVER

- cable to plunger, S616468 and S616469

1шт.

30

S10717

PIN

CLEVIS PIN - 1/4" x 1"

2шт.

31

132-24

COTTER PIN,3/32" x 1/2"

PIN, SPLIT (COTTER), 3/32" x 1/2"

2шт.

REF

INSTRUCTION

BRAKE ASSEMBLY - swing, continued, see Figure 342 for correct assembly number, Includes: Ref. 32 - 37

1шт.

32

S203957

BRACKET

- mounting, cable, S56457 brake assembly only

1шт.

32a

S510472

BRACKET

- mounting, cable, S616468 and S616469 brake assemblies only

1шт.

32b

S230205

BRACKET

- lever return spring, S616468 and S616469 brake assemblies only

1шт.

33

S202938

SPRING

- lever return part of S616468 and S616469 brake assemblies only, must be ordered separately when ordering S56457 brake assembly

1шт.

34

113-207

BOLT,Hex, 3/8" - 16 x 1", Gr 5

2шт.

35

192-21

LOCK WASHER,3/8"

WASHER, LOCK, 3/8"

2шт.

37

S203309

GASKET

- S56457 AND S616468 brake assemblies only, see Ref. 39

1шт.

36

61-620

HEX SOC SCREW,3/8"-16 x 1 1/4"

BOLT - hex socket head, 3/8" - 16 NC x 1-1/4", grade 8, use with Ref. 38

3шт.

38

B17422

LOCTITE

- 242 Blue, 50ml bottle, not shown, used with Ref. 36

1шт.

39

B17423

LOCTITE

- 271 Red, 50ml bottle, not shown, used in place of Ref. 37 on S616469 brake assembly only

1шт.

Выбрано товаров: 48