Запчасти Case 880C (354) - TURNTABLE AND BEARING (04) - UNDERCARRIAGE

Схема запчастей Case 880C - (354) - TURNTABLE AND BEARING (04) - UNDERCARRIAGE
FIT
1:1
100%

Артикул

Название

Примечание

Количество

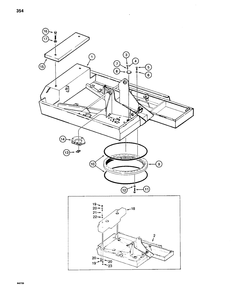
1

S617156

TABLE

TURNTABLE - with intregal counterweight, PIN 6205456 and after

1шт.

1

S615765

ASSEMBLY

TURNTABLE - with intregal counterweight, PIN 6205253 thru 6205455

1шт.

2

S616361

TABLE

TURNTABLE - uses bolt on counterweight, PIN 6205236 thru 6205252

1шт.

2

S615294

TURNTABLE - uses bolt on counterweight, used before PIN 6205236

1шт.

3

S77941

NUT - wing, 3/8" - 16 NC

2шт.

4

192-21

LOCK WASHER,3/8"

WASHER, LOCK, 3/8"

2шт.

5

26-1036

BOLT,Hex, 5/8" - 11 x 2-1/4", Gr 8

- hex head, 5/8" - 11 NC x 2-1/4", grade 8

36шт.

6

S92353

WASHER

- flat, 5/8", hardened

36шт.

7

195-104

WASHER,3/8"

- flat, 7/16"

2шт.

8

S76664

COVER

- bearing access

1шт.

S508668

SLEWING RING

BEARING ASSEMBLY - turntable, Includes: Ref. 9 and 10

1шт.

9

NSS

NOT SOLD SEPARAT

BEARING - without seals

1шт.

10

S105067

SEAL

- bearing, 156" (3962 mm) long, cut to correct length of 138" (3505 mm)

2шт.

11

26-1032

BOLT,Hex, 5/8" - 11 x 2", Gr 8

- hex head, 5/8" - 11 NC x 2", grade 8

36шт.

12

S92353

WASHER

- flat, 5/8", hardened

36шт.

13

S84889

SHIM,.003" Thk

(.0762 mm), Swing gearbox mounting .003" Thk

1шт.

13

S77916

SHIM,.005" Thk

(.1270 mm), Swing gearbox mounting .005" Thk

1шт.

13

S84890

SHIM,.007" Thk

(.1778 mm), Swing gearbox mounting .007" Thk

1шт.

13

S77917

SHIM,.010" Thk

(.2540 mm), Swing gearbox mounting .010" Thk

1шт.

13

S77918

SHIM,.015" Thk

Swing gearbox mounting (.3810 mm) .015" Thk

1шт.

13

S77919

SHIM,.030" Thk

(.7620 mm), Swing gearbox mounting .030" Thk

1шт.

13

S77920

SHIM,.060" Thk

(1.524 mm), Swing gearbox mounting .060" Thk

1шт.

14

S506965

SUPPORT

- swing gearbox mounting, welds to turntable, used before PIN 6205625

1шт.

15

S239390

WEIGHT

COUNTERWEIGHT - auxiliary, PIN 6205253 and after

1шт.

16

15-1284

BOLT

- hex head, 3/4" - 10 NC x 5-1/4"

2шт.

17

S94643

WASHER,19.43mm ID x 38.1mm OD x 6.35mm Thk

- flat, 7/8"

2шт.

18

S955428

COUNTERWEIGHT - used before PIN 6205236

1шт.

19

131-454

LOCK NUT,1 1/4"-7

NUT - hex, self-locking, 1-1/4" - 7 NC

4шт.

20

196-70

WASHER,1 3/8" x 3" x .180", HDN

- flat, 1-1/4"

6шт.

21

S108713

STUD - 1-1/4" - 7 NC x 23-1/2"

2шт.

22

S114254

INSERT - counterweight

2шт.

23

13-2040

BOLT,Hex, 1-1/4" - 7 x 2-1/2", Gr 5

- hex head, 1-1/4" - 7 NC x 2-1/2"

2шт.

Выбрано товаров: 32