Запчасти Case 880C (100) - HEATER AND HOSES, BEFORE PIN 6205236 (05) - UPPERSTRUCTURE CHASSIS

Схема запчастей Case 880C - (100) - HEATER AND HOSES, BEFORE PIN 6205236 (05) - UPPERSTRUCTURE CHASSIS
FIT
1:1
100%

Артикул

Название

Примечание

Количество

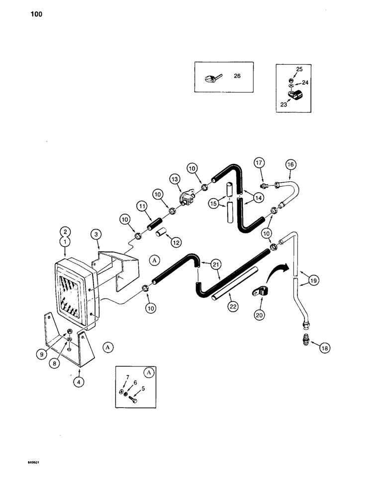
1

S507825

HEATER

ASSEMBLY - parts list Figure 102

1шт.

2

223-191

TERMINAL CONNECTOR,14 - 16

TERMINAL - electrical, heater wire, not shown

1шт.

3

S237006

SHROUD - heater

1шт.

4

S513714

BRACKET - heater support

1шт.

5

113-3

BOLT,Hex, 1/4" - 20 x 3/4", Gr 5

4шт.

6

192-19

LOCK WASHER,Helical Spring, 0.256" ID, CST, ZND

WASHER, LOCK, 1/4"

4шт.

7

195-518

WASHER,1/4", SAE

- flat, 1/4"

4шт.

8

195-104

WASHER,3/8"

- flat, 3/8"

1шт.

9

131-206

NUT,3/8"-16

NUT - hex, self-locking, 3/8" - 16 NC

1шт.

10

214-253

HOSE CLAMP,#10, 0.56" - 1.06", Type F Worm

CLAMP - hose

6шт.

11

REF

INSTRUCTION

HOSE - shutoff valve to heater, 5/8" (16 mm) ID x 4" (102 mm) long, cut from A42610, see below

1шт.

12

REF

INSTRUCTION

SLEEVE - hose, 1" (25 mm) ID x 3" (76 mm) long, cut from S119717, see below

1шт.

13

S223937

VALVE

- heater shutoff

1шт.

14

REF

INSTRUCTION

HOSE - engine to shutoff valve, 5/8" (16 mm) ID x 136" (3544 mm) long, cut from A42610, see below

1шт.

15

REF

INSTRUCTION

SLEEVE - hose, 1" (25 mm) ID x 18" (457 mm) long, cut from S119717, see below

1шт.

16

S232219

TUBE,0.62" OD x 3.06, 4.68" L

- engine outlet

1шт.

17

218-1026

HYD CONNECTOR,7/8"-14, 37 Degree x 3/8"-18, NPTF

ADAPTER - straight, engine outlet

1шт.

18

218-445

HYD CONNECTOR,7/8" - 14 Male JIC x 1/2" - 14 Male NPTF

ADAPTER - straight, engine inlet

1шт.

19

S231777

TUBE,0.62" OD x 3.85, 34.05" L

- return to engine

1шт.

20

515-23159

CLAMP,5/8", Insul, 3/8" Bolt

- tube, uses existing hardware

1шт.

21

REF

INSTRUCTION

HOSE - heater outlet to engine, 5/8" (16 mm) ID x 121" (3073 mm) long, cut from A42610, see below

1шт.

22

REF

INSTRUCTION

SLEEVE - hose, 1" (25 mm) ID x 22" (559 mm) long, cut from S119717, see below

1шт.

23

R14668

CLAMP

- hoses, three clamps use existing hardware

4шт.

24

195-525

WASHER,3/8", SAE

- flat, 3/8"

1шт.

25

131-52

NUT,3/8"-16, GC

NUT - hex, 3/8" - 16 NC

1шт.

26

L18337

CABLE TIE,9.95"-12.1" lg

STRAP - tie, 15 inch, nylon

1шт.

A42610

LARGE HOSE

HOSE - bulk roll, 5/8" (16 mm) ID x 50' (1524 cm) long

1шт.

S119717

CONDUIT

SLEEVE - bulk roll, 1" (25 mm) ID x 192" (4877 mm) long

1шт.

Выбрано товаров: 28