Запчасти Case 880C (362) - OPTIONAL SECURITY COVERS (05) - UPPERSTRUCTURE CHASSIS

Схема запчастей Case 880C - (362) - OPTIONAL SECURITY COVERS (05) - UPPERSTRUCTURE CHASSIS
FIT
1:1
100%

Артикул

Название

Примечание

Количество

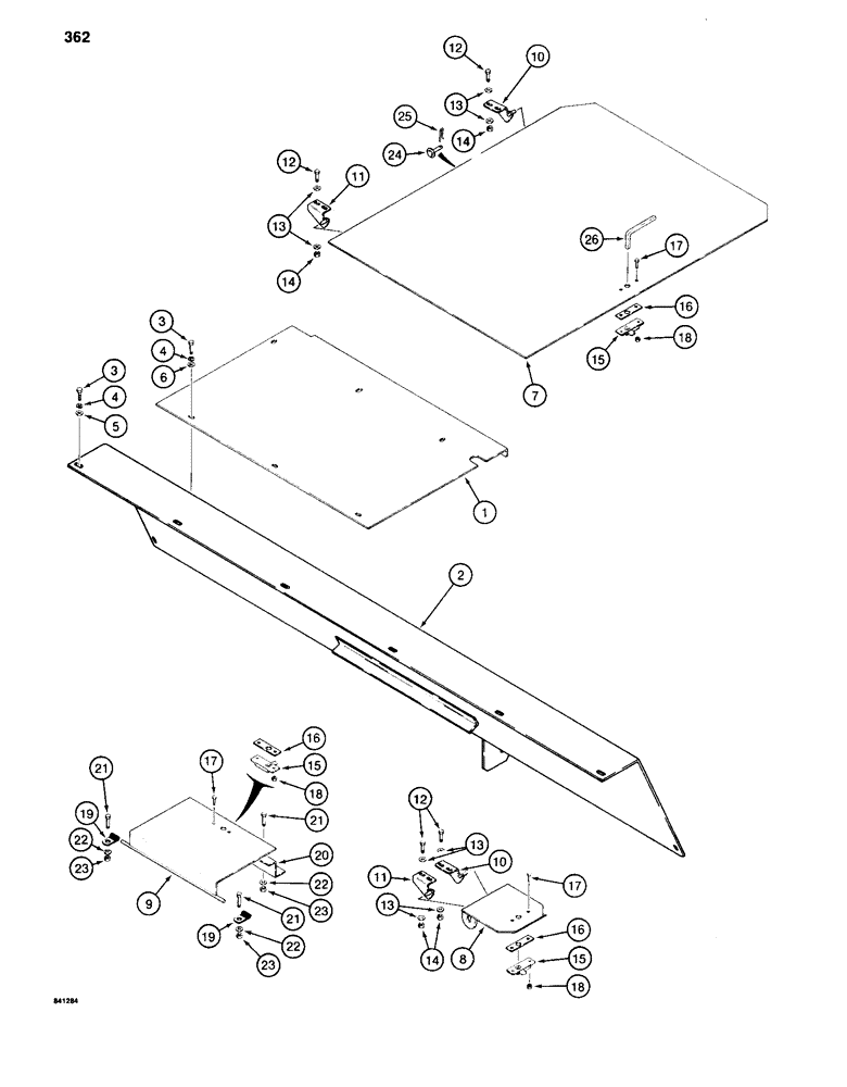
1

S515217

COVER - left-hand front

1шт.

2

S616288

COVER - center

1шт.

3

113-417

BOLT,Hex, 1/2" - 13 x 1-1/4", Gr 5, Full Thd

- hex head, 1/2" - 13 NC x 1"

14шт.

4

192-23

LOCK WASHER,1/2"

WASHER, LOCK, 1/2"

14шт.

5

196-15

WASHER,17/32" x 1 1/6" x .134"

- flat, 1/2", hardened, used with center cover only

8шт.

6

S95569

WASHER

- flat, 1/2", hardened, used with left-hand front cover only

6шт.

7

S515164

DOOR ASSY.

DOOR - right-hand top

1шт.

8

S239862

DOOR - radiator access

1шт.

9

S240677

DOOR - hydraulic reservoir access

1шт.

10

S221455

BRACKET

- hinge, right-hand, used with Refs. 7 and 8

2шт.

11

S222540

BRACKET - hinge, left-hand, used with Refs. 7 and 8

2шт.

12

113-208

BOLT,Hex, 3/8" - 16 x 1-1/4", Gr 5

8шт.

13

196-5

WASHER,13/32" x 1 1/16" x .095", HDN

- flat, 3/8", hardened

16шт.

14

131-52

NUT,3/8"-16, GC

NUT - hex, self-locking, 3/8" - 16 NC

8шт.

15

S110414

LOCK

- access doors

3шт.

16

S116937

SHIM - door lock, three used with Refs. 7 and 8 and one used with Ref. 9

7шт.

17

131-9

LOCK NUT,Prev Torque, Hex, 1/2" - 20, Gr B

BOLT - hex head, 1/4" - 20 NC x 7/8"

6шт.

18

131-461

LOCK NUT,1/4"-20

NUT - hex, self-locking, 1/4" - 20 NC

6шт.

19

S15543

CLAMP,7/16", Insul, 1/2" Bolt

- hinge for Ref. 9

2шт.

20

S118795

BAR - lock lip, for Ref. 9

1шт.

21

113-417

BOLT,Hex, 1/2" - 13 x 1-1/4", Gr 5, Full Thd

4шт.

22

196-15

WASHER,17/32" x 1 1/6" x .134"

- flat, 1/2", hardened

6шт.

23

131-70

NUT,1/2"-13, GB

NUT - hex, self-locking, 1/2" - 13 NC

4шт.

24

S223024

CLEVIS PIN - special, used with Ref. 7

1шт.

25

S120261

PIN

COTTER PIN - hair, special

1шт.

26

S115083

KEY

- door lock

1шт.

Выбрано товаров: 26