Запчасти Case 880D (160) - AUXILIARY HYDRAULICS (07) - HYDRAULIC SYSTEM

Схема запчастей Case 880D - (160) - AUXILIARY HYDRAULICS (07) - HYDRAULIC SYSTEM
FIT
1:1
100%

Артикул

Название

Примечание

Количество

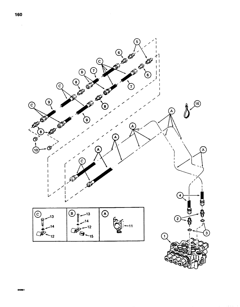
1

REF

INSTRUCTION

CONTROL VALVE - outside, see Figures 267-273

1шт.

2

218-5078

HYD CONNECTOR,7/8" - 14 Male JIC x 1-5/16" - 12 Male ORB

ADAPTER - straight, at control valve, Includes: Ref. 3

2шт.

3

218-5010

O-RING,0.116" Thk x 1.171" ID, -916, Cl 6, 90 Duro

- adapter

1шт.

4

S76576

HOSE

- from control valve, 330" (8382 mm) long

2шт.

5

218-736

UNION,7/8"-14, 37 Degree x 7/8"-14, 37 Degree

CONNECTOR - straight

2шт.

6

218-789

REDUCER,37 Degree, 7/8"-14, Fem x 3/4"-16 Male

- connector to hose

2шт.

7

S94824

HOSE

- auxiliary line, 92-1/2" (2350 mm) long

2шт.

8

218-735

UNION,3/4"-16, 37 Degree x 3/4"-16, 37 Degree

CONNECTOR - straight

4шт.

9

S11236

HOSE ASSY.

HOSE - auxiliary line, 26" (660 mm) long

2шт.

10

218-755

CAP,37 Degree, 3/4"-16

End 37º, 3/4"-16

2шт.

11

S91602

CLAMP

- hose

1шт.

12

S116280

CLAMP

- hose

1шт.

13

113-417

BOLT,Hex, 1/2" - 13 x 1-1/4", Gr 5, Full Thd

1шт.

14

192-23

LOCK WASHER,1/2"

WASHER, LOCK, 1/2"

1шт.

15

S75792

RING

- compression

2шт.

16

L18337

CABLE TIE,9.95"-12.1" lg

STRAP - tie, 15 inch, nylon

1шт.

Выбрано товаров: 16