Запчасти Case 880D (262) - WRIST-O-TWIST (09) - BOOMS

Схема запчастей Case 880D - (262) - WRIST-O-TWIST (09) - BOOMS
FIT
1:1
100%

Артикул

Название

Примечание

Количество

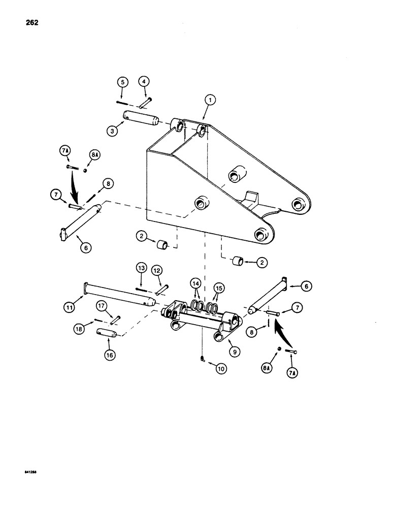
1

S608074

FRAME

- upper, Includes: Ref. 2

1шт.

2

S202163

BUSHING

- frame

2шт.

3

S74766

PIN

- cylinder base, Serial Range: end-frame

1шт.

4

S61970

PIN

CLEVIS PIN - 1/2" x 2.516" grip length

1шт.

5

132-69

COTTER PIN,5/32" x 1"

PIN, Split (Cotter), 5/32" x 1"

1шт.

6

S213911

PIN

- attachment link to wrist-o-twist and, Serial Range: wrist-o-twist-bucket

2шт.

7

S61972

PIN

CLEVIS PIN - 1/2" x 3.266" grip length, if used

2шт.

7a

26-860

BOLT,Hex, 1/2" - 13 x 3-3/4", Gr 8

- hex head, 1/2" - 13 NC x 3-3/4", grade 8, if used

2шт.

8

132-69

COTTER PIN,5/32" x 1"

PIN, Split (Cotter), , If used 5/32" x 1"

2шт.

8a

131-70

NUT,1/2"-13, GB

NUT - hex, self-locking, 1/2" - 13 NC, plated, if used

2шт.

9

S509545

HINGE

- lower

1шт.

10

219-40

LUBE NIPPLE,65 Degree Elbow, 1/8" - 27 NPTF

GREASE FITTING - 65 degree, 1/8" NPT

1шт.

11

S201022

PIN

-, Serial Range: frame-hinge

1шт.

12

S61976

CLEVIS PIN

- 5/8" x 4.516" grip length

1шт.

13

132-69

COTTER PIN,5/32" x 1"

PIN, Split (Cotter), 5/32" x 1"

1шт.

14

S88992

WASHER

SHIM - .060" (1.524 mm) thick

1шт.

15

S88993

WASHER

SHIM - .090" (2.286 mm) thick

1шт.

16

S75299

PIN

- cylinder rod, Serial Range: end-hinge

1шт.

17

S61970

PIN

CLEVIS PIN - 1/2" x 2.516 grip length

1шт.

18

132-69

COTTER PIN,5/32" x 1"

PIN, Split (Cotter), 5/32" x 1"

1шт.

Выбрано товаров: 20