Запчасти Case 880D (012) - COOLANT RECOVERY SYSTEM (01) - ENGINE

Схема запчастей Case 880D - (012) - COOLANT RECOVERY SYSTEM (01) - ENGINE
FIT
1:1
100%

Артикул

Название

Примечание

Количество

1

REF

INSTRUCTION

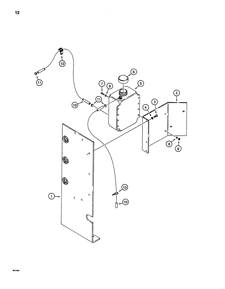
BRACKET - front, see Figure 10 for radiator, oil cooler, and brackets

1шт.

2

S242136

BRACKET

- recovery bottle mounting

1шт.

3

113-103

BOLT,Hex, 5/16" - 18 x 1", Gr 5

2шт.

4

192-20

LOCK WASHER,Helical Spring, 0.318" ID, CST, ZND

WASHER, LOCK, 5/16"

2шт.

5

A171774

CONTAINER

BOTTLE - coolant recovery

1шт.

6

A171929

CAP

- recovery bottle

1шт.

7

113-4

BOLT,Hex, 1/4" - 20 x 1", Gr 5

4шт.

8

195-518

WASHER,1/4", SAE

- flat, 1/4", plated

8шт.

9

86625061

NUT,1/4"-20, GB

NUT - hex, self-locking, 1/4" - 20NC, plated

4шт.

10

D94979

FUEL HOSE,7.90 mm ID x 1016.00 mm, SAE 30R6 or SAE 30R7

HOSE , Radiator overflow and recovery bottle overflow 7.90 mm ID x 1016.00 mm, SAE 30R6 or SAE 30R7

1шт.

11

214-274

HOSE CLAMP,#04, 0.25" - 0.62", Type F Worm

- overflow hoses #4, 0.25/0.62 Type F Worm

3шт.

12

NLS

NO LONGER SERVICED

- radiator overflow hose

1шт.

13

L18337

CABLE TIE,9.95"-12.1" lg

STRAP - tie, 15 inch, nylon

1шт.

Выбрано товаров: 13