Запчасти Case 880D (034) - CYLINDER HEAD AND VALVE MECHANISM, 6T-590 DIESEL ENGINE (01) - ENGINE

Схема запчастей Case 880D - (034) - CYLINDER HEAD AND VALVE MECHANISM, 6T-590 DIESEL ENGINE (01) - ENGINE
FIT
1:1
100%

Артикул

Название

Примечание

Количество

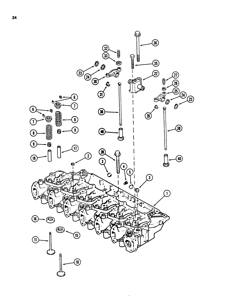
1

JR906455

HEAD

ASSEMBLY - cylinder (Remanufactured), Includes: Ref. 1 - 11

1шт.

1

JC906455

HEAD

RETURN NUMBER - cylinder head assembly (Use this number to return head core for credit), Includes: Ref. 1 - 11

1шт.

1

J906455

HEAD (CYLINDER)

HEAD ASSEMBLY - cylinder (New), Includes: Ref. 1 - 11

1шт.

1

J904575

HEAD (CYLINDER)

HEAD ASSEMBLY - cylinder, Includes: Ref. 2

1шт.

2

J902606

PLUG

- expansion, 21 mm OD

5шт.

3

A77429

PLUG

- hex socket pipe, 1/2-18 inch PT

5шт.

4

J906619

PLUG,1/8" - 27

- hex socket pipe, 1/8-27 inch PT

2шт.

5

A77505

PLUG

- square head pipe, 1/2-18 inch PT

2шт.

6

CASJ900250

RETAINER

KEEPER - valve

24шт.

7

J900299

RETAINER

- valve spring

12шт.

8

J900276

VALVE SPRING

SPRING - valve

12шт.

9

J901097

SEAL

- valve stem

12шт.

10

J901117

VALVE

- intake

6шт.

11

J901607

VALVE

- exhaust

6шт.

15

J906854

SEAT, VALVE

SEAT - insert, intake valve (Service repair only)

6шт.

16

J904105

SEAT, VALVE

SEAT - insert, exhaust valve (Service repair only)

6шт.

17

J904408

GUIDE

- valve, intake (Service repair only)

6шт.

18

J904409

GUIDE

- valve, exhaust (Service repair only)

6шт.

20

J903938

BOLT

- flanged hex, M12 x 70 mm

6шт.

20

J903939

BOLT

- flanged hex, M12 x 120 mm

14шт.

22

J907048

SUPPORT

AND SHAFT ASSEMBLY - rocker arm

6шт.

23

J900242

SNAP RING

RING - retaining

12шт.

24

J900245

WASHER

- thrust

12шт.

25

J900540

ARM ASSY.

ARM ASSEMBLY - rocker, intake, Includes: Ref. 26 - 28

6шт.

26

NSS

NOT SOLD SEPARAT

INSERT - rocker arm (Reference No. J900705)

1шт.

27

J937438

ADJUSTMENT SCREW,Hex Skt, 3/8" - 24 x 33mm, Adj, Ball Point

SCREW - slotted adjusting, 3/8 inch NF x 40 mm

1шт.

28

A77434

JAM NUT,Jam, 3/8"-24, G5

- hex jam, 3/8 inch NF

1шт.

30

J900539

ARM ASSY.

ARM ASSEMBLY - rocker, exhaust, Includes: Ref. 31 - 33

6шт.

31

NSS

NOT SOLD SEPARAT

INSERT - rocker arm (Reference No. J900705)

1шт.

32

J937438

ADJUSTMENT SCREW,Hex Skt, 3/8" - 24 x 33mm, Adj, Ball Point

SCREW - slotted adjusting, 3/8 inch NF x 40 mm

1шт.

33

A77434

JAM NUT,Jam, 3/8"-24, G5

- hex jam, 3/8 inch NF

1шт.

35

813-8075

BOLT,Hex, M8 x 1.25 x 75mm, Cl 8.8

- flanged hex, M8 x 75 mm

6шт.

36

J903940

BOLT

- flanged hex, M12 x 180 mm

6шт.

38

J904679

PUSH ROD

ROD - push, rocker arm

12шт.

40

J907240

TAPPET

- valve, push rod

12шт.

Выбрано товаров: 35