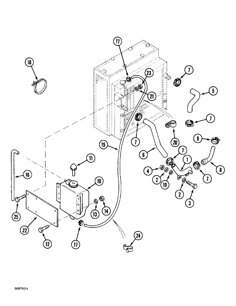
Запчасти Case 888 (2-22) - COOLANT RECOVERY SYSTEM, P.I.N. 15634 AND AFTER, P.I.N. 106809 AND AFTER (02) - ENGINE

Схема запчастей Case 888 - (2-22) - COOLANT RECOVERY SYSTEM, P.I.N. 15634 AND AFTER, P.I.N. 106809 AND AFTER (02) - ENGINE
12
20
25
16
5
21
17
22
11
13
4
9
19
1
10
17
7
7
2
23
15
8
2
6
24
18
7
3
14
7
7
FIT
1:1
100%

Артикул

Название

Примечание

Количество

1

P3950193

MANIFOLD

PIPE - radiator hose to engine hose

1шт.

2

P3528795

WASHER

SPACER - bolt, 7 mm thick

4шт.

3

P433814

SCREW

BOLT - hex, 10 mm x 60 mm

2шт.

4

P34598

SAFETY NUT

NUT - hex, self-locking, 10 mm

2шт.

5

P6631957

LARGE HOSE

HOSE -, Serial Range: pipe-engine

1шт.

6

P6631959

LARGE HOSE

HOSE - radiator, lower

1шт.

7

P136902

COLLAR CLAMP

CLAMP - hoses

5шт.

8

P6631958

LARGE HOSE

HOSE - radiator, upper

1шт.

9

P36935

COLLAR CLAMP

CLAMP -, Serial Range: hose-engine

1шт.

10

A184395

RESERVOIR

BOTTLE - coolant recovery

1шт.

11

A184079

CAP

- recovery bottle (Replaces cap P3037433)

1шт.

12

86977786

BOLT,Hex, M6 x 1 x 25mm, Cl 8.8

Hex, M6 x 25, 8.8, Full Thd

4шт.

13

P35001

WASHER

- flat, 6 mm

8шт.

14

P234513

SAFETY NUT

NUT - hex, self-locking, 6 mm

4шт.

15

REF

INSTRUCTION

HOSE - radiator overflow, 800 mm (31-1/2 inch) long, cut from bulk hose P1103638 below

1шт.

16

REF

INSTRUCTION

HOSE - recovery bottle overflow, 350 mm (13-13/16 inch) long, cut from bulk hose P1103638 below

1шт.

17

P36951

COLLAR

CLAMP - overflow hoses

2шт.

18

P51946

CLAMP

STRAP - tie, overflow hose, 258 mm (16-1/8 inch) long

1шт.

19

P4328730

WASHER

SPACER - bolt, 20 mm thick

2шт.

20

P51961

CLAMP

- radiator overflow hose

1шт.

21

P35002

WASHER

- flat, 6 mm

2шт.

22

P3522836

SUPPORT

- bottle

1шт.

23

P134596

SAFETY NUT

NUT - hex, self-locking, 8 mm

2шт.

24

P1736917

CLASP

SUPPORT - hose, radiator overflow

1шт.

25

120104

BOLT,Hex, M8 x 1.25 x 20mm, Cl 8.8

BOLT, Hex, M8 x 20, 8.8

2шт.

P1103638

LARGE HOSE

HOSE - bulk, sold by the meter

1шт.

Выбрано товаров: 26