Запчасти Case 888 (7-20) - TRAVEL SPEED LIMITER VALVE (07) - BRAKES

Схема запчастей Case 888 - (7-20) - TRAVEL SPEED LIMITER VALVE (07) - BRAKES
4
3
8
6
2
7
1
5
FIT
1:1
100%

Артикул

Название

Примечание

Количество

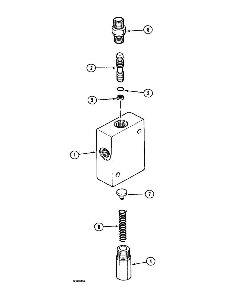
P4743323

BLOCK ASSY.

VALVE ASSEMBLY - travel speed limiter, Includes: Ref. 1 - 8

1шт.

1

NSS

NOT SOLD SEPARAT

BLOCK - valve, order valve assembly P4743323

1шт.

2

P6427817

SPOOL

- valve

1шт.

3

P230411

O-RING,0.07" Thk x 0.239" ID, -10, Cl 5, 75 Duro

- spool

1шт.

4

P1030032

CAP

- spring

1шт.

5

P1245265

BACK-UP RING

RING - backup

1шт.

6

P1538196

COMPRESSION SPRING

SPRING - spool

1шт.

7

P6027871

TAPPET

GUIDE - spring

1шт.

8

P3237530

UNION

ADAPTER ASSEMBLY - straight

1шт.

P7046042

SEAL

- adapter

1шт.

Выбрано товаров: 10