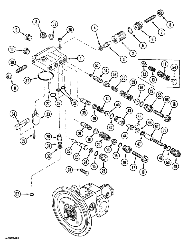
Запчасти Case 888 (8B-40) - REGULATOR, P.I.N. 15482 AND AFTER, P.I.N. 106801 AND AFTER (08) - HYDRAULICS

Схема запчастей Case 888 - (8B-40) - REGULATOR, P.I.N. 15482 AND AFTER, P.I.N. 106801 AND AFTER (08) - HYDRAULICS
47
28
15
19
13
27
10
23
42
52
45
1
6
40
56
39
11
32
57
37
24
61
25
60
29
17
16
22
18
21
20
5
2
49
53
28
19
40
4
30
51
36
14
38
33
54
3
15
62
50
9
41
15
44
8
55
12
8
34
59
18
48
46
26
35
43
8
7
31
FIT
1:1
100%

Артикул

Название

Примечание

Количество

P4543559

PUMP, HYDRAULIC

PUMP ASSEMBLY - hydraulic, high pressure

1шт.

P3843618

GOVERNOR

REGULATOR ASSEMBLY - hydraulic pump, Includes: Ref. 1 - 38

1шт.

1

NSS

NOT SOLD SEPARAT

BODY - regulator, order regulator assembly P3843618

1шт.

2

P8846218

PISTON

- regulator

1шт.

3

P6427818

TAPPET

ROD - plate adjusting, swash variable

1шт.

4

P36298

RING, SNAP

RING - snap, rod retainer

1шт.

5

P2930477

O-RING

- plug

1шт.

6

P3533024

SCREW

PLUG - plate swash adjusting

1шт.

7

P1136010

SPLIT PIN/SAFETY PIN

SCREW - adjusting

1шт.

8

P2434572

NUT

- adjusting screw

2-3шт.

9

P3237485

PLUG

ASSEMBLY - small body

1шт.

P2230441

SEAL

- plug

1шт.

10

P3237487

PLUG

ASSEMBLY - large body

1шт.

P2230418

SEAL

- plug

1шт.

11

NSS

NOT SOLD SEPARAT

SPOOL - load sensing control valve, order regulator assembly P3843618

1шт.

12

P3628856

GUIDE

SEAT - spring retainer

1шт.

13

P1038286

SPRING

- small, load sensing valve (Replaces spring P1038262)

1шт.

14

P1038287

SPRING

- large, load sensing valve (Replaces springs P1038247 and P1038282)

1шт.

15

P2930431

O-RING

- plug

3шт.

16

P3533023

SCREW

PLUG - valve

1шт.

17

P1136011

SPLIT PIN/SAFETY PIN

SCREW - adjusting, valve

1шт.

18

P2434571

NUT

- adjusting, screw

2шт.

19

P3628813

CUPEL

SEAT - spring, adjustable flow valve

2шт.

20

P1038259

SPRING

- adjustable flow valve

1шт.

21

NSS

NOT SOLD SEPARAT

SPOOL - adjustable flow valve, order regulator assembly P3843618

1шт.

22

P3827323

PISTON

- lever

1шт.

23

P1729856

BUSHING

POPPET - adjustable flow

1шт.

24

P36209

RING, SNAP

RING - snap, poppet

1шт.

25

P3237484

PLUG

- body, hex head

1шт.

26

P2930434

O-RING,0.103" Thk x 0.424" ID, -11, Cl 6, 90 Duro

- body to pump housing

1шт.

27

P36055

DEUTZ PART

PIN -, Serial Range: body-housing

2шт.

28

P8346225

PISTON

PIN - plate, swash, Serial Range: variable-lever

1шт.

29

P2930476

O-RING

- retainer, small, upper

2шт.

30

P3628860

BUSHING

RETAINER -, Serial Range: body-housing

2шт.

31

P2930427

O-RING,0.07" Thk x 0.364" ID, -12, Cl 6, 90 Duro

- retainer, large, lower

2шт.

32

P1245271

BACK-UP RING

RING - backup

2шт.

33

P8646273

ECCENTRIC

- pilot swash

1шт.

34

P5242777

LEVER

- pilot swash

1шт.

35

P3533025

SCREW

- adjusting, 6 mm x 36 mm

1шт.

36

P32937

SCREW

- hex socket, 10 mm x 50 mm

4шт.

37

P2930433

O-RING,0.139" Thk x 3.859" ID, -241, Cl 5, 75 Duro

- body to pump housing

1шт.

38

P1136009

SPLIT PIN/SAFETY PIN

SCREW - adjusting

1шт.

39

NSS

NOT SOLD SEPARAT

SPOOL - valve, flow cut-off, order regulator assembly

1шт.

40

P3628813

CUPEL

SEAT - spring, flow cut-off

2шт.

41

P1038245

SPRING

- valve, flow cut-off (Replaces spring P1038264)

1шт.

42

P2930431

O-RING

- housing

1шт.

43

P4237565

FITTING

HOUSING - valve, flow cut-off

1шт.

44

P30279

PISTON

POPPET - valve, flow cut-off

1шт.

45

P1136008

SPLIT PIN/SAFETY PIN

PIN - poppet

1шт.

46

P3145343

CUPEL

SHIM - poppet

1шт.

47

P436213

RING, SNAP

SNAP - shim

1шт.

48

P4837531

FITTING

PLUG - valve

1шт.

49

15896221

NUT,Hex, M6, 5.20mm High, Cl 10

Adjusting screw M6, Cl 10

1шт.

50

P2930442

O-RING

- plug (Replaces O-ring P2930432)

1шт.

51

P32898

SCREW

- adjusting valve (Replaces screw P32897)

1шт.

52

P3743280

JET

ORIFICE - load sensing valve

1шт.

53

P3237483

PLUG

ASSEMBLY - body

1шт.

P2230426

SEAL

- plug

1шт.

54

P3628857

GUIDE

SEAT - spring retainer

1шт.

55

P3337450

PLUG

- valve

1шт.

56

P3533075

SCREW

- adjusting, valve

1шт.

57

P3145345

SPACER

- valve

1шт.

58

P3628896

GUIDE

SEAT - spring retainer, if used

1шт.

59

P1038287

SPRING

- small, load sensing valve, if used

1шт.

60

P1038286

SPRING

- large, load sensing valve, if used

1шт.

61

P3628897

GUIDE

SEAT - spring retainer, if used

1шт.

Выбрано товаров: 66