Запчасти Case 888 (4-24) - WINDSHIELD WASHER (04) - ELECTRICAL SYSTEMS

Схема запчастей Case 888 - (4-24) - WINDSHIELD WASHER (04) - ELECTRICAL SYSTEMS
5
6
4
2
8
9
3
1
3
7
FIT
1:1
100%

Артикул

Название

Примечание

Количество

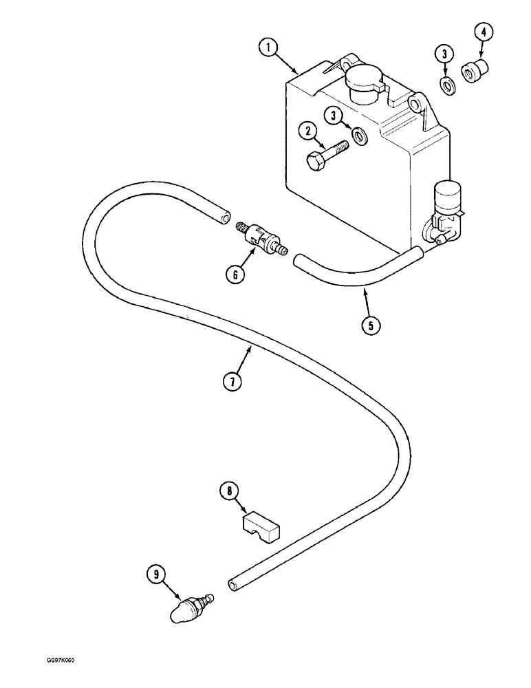
1

P1241880

RESERVOIR ASSY.

RESERVOIR AND MOTOR - windshield washer

1шт.

2

86977786

BOLT,Hex, M6 x 1 x 25mm, Cl 8.8

Hex, M6 x 25, 8.8, Full Thd

2шт.

3

P35002

WASHER

- flat, 6 mm

4шт.

4

P834513

NUT

RETAINER - bolt, sleeve type, 6 mm

2шт.

5

REF

INSTRUCTION

HOSE - at reservoir, 150 mm (5-29/32 inch) long, cut from bulk hose P1103643 below

1шт.

6

P4441476

FITTING

CONNECTOR - quick, Serial Range: hose-nozzle

1шт.

7

REF

INSTRUCTION

HOSE - windshield washer, to nozzle, 4000 mm (157-31/64 inch) long, cut from bulk hose P1103643 below

1шт.

8

P1241413

CLIP,ELECTRICAL

CLIP - washer, Serial Range: hose-cab

2шт.

9

P4143207

JET

NOZZLE - windshield washer

1шт.

P1103643

PIPE

HOSE - bulk, sold by the meter

1шт.

Выбрано товаров: 10