Запчасти Case 888 (4-40) - ELECTRICAL SYSTEM CIRCUIT BOARD (04) - ELECTRICAL SYSTEMS

Схема запчастей Case 888 - (4-40) - ELECTRICAL SYSTEM CIRCUIT BOARD (04) - ELECTRICAL SYSTEMS
5
1
3
5
3
2
7
10
7
6
2
2
9
2
2
7
7
3
2
5
11
8
2
4
FIT
1:1
100%

Артикул

Название

Примечание

Количество

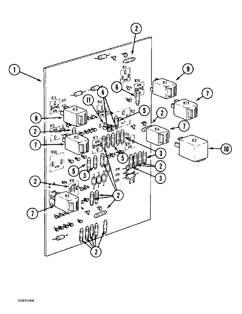
P151695

BOARD, PRINTED CIRCU

BOARD ASSEMBLY - circuit, electrical system, Includes: Ref. 1 - 6

1шт.

1

NSS

NOT SOLD SEPARAT

BOARD - circuit, electrical system, order board assembly P151695

1шт.

2

3021479R2

FUSE

- circuit, 5 amp (Replaces fuse P841297)

16шт.

3

3021478R1

FUSE,A8, White

- circuit, 8 amp (Replaces fuse P841296)

4шт.

4

P841295

FUSE

- circuit, 10 amp

2шт.

5

P841294

FUSE

- circuit, 16 amp

3шт.

6

P1241265

FUSE

- circuit, 30 amp

1шт.

7

P3041116

IGNITION SWITCH

SWITCH - magnetic, plug-in type, 24 volt

4шт.

8

P3041117

IGNITION SWITCH

SWITCH - magnetic, plug-in type, 12 volt

1шт.

9

P2041169

RELAY

SWITCH - magnetic, plug-in type, starter, 24 volt

1шт.

10

P2041150

IGNITION SWITCH

SWITCH - magnetic, bolt-on type, 24 volt, 50 amp

1шт.

11

P640961

CONNECTION

CABLE ASSEMBLY - battery negative post to ground, Includes: Ref. 12 - 15

1шт.

P1736995

FASTENER

CLIP - circuit board

1шт.

Выбрано товаров: 13