Запчасти Case 688 (8-116) - TRAVEL SPEED LIMITER VALVE (08) - HYDRAULICS

Схема запчастей Case 688 - (8-116) - TRAVEL SPEED LIMITER VALVE (08) - HYDRAULICS
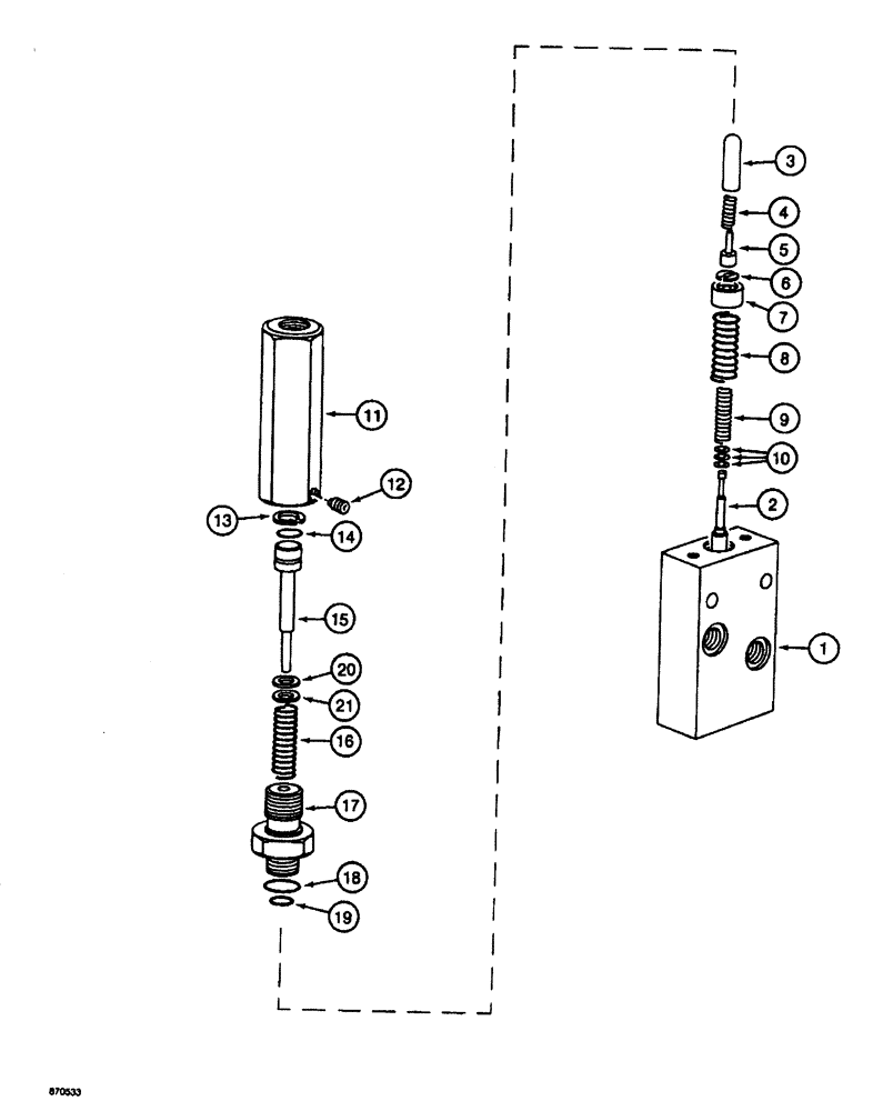
7
10
16
17
11
3
9
15
5
20
8
12
21
6
13
2
18
19
14
4
1
FIT
1:1
100%

Артикул

Название

Примечание

Количество

P154970

CARTRIDGE

VALVE ASSEMBLY - travel speed limiter, Includes: Ref. 1 - 21

1шт.

1

NSS

NOT SOLD SEPARAT

BLOCK - valve

1шт.

2

NSS

NOT SOLD SEPARAT

SPOOL - valve

1шт.

3

NSS

NOT SOLD SEPARAT

PLUNGER - spool

1шт.

P5449625

KIT

- spring, spool and plunger, Includes: Ref. 4 - 10

1шт.

4

NSS

NOT SOLD SEPARAT

SPRING - plunger

1шт.

5

NSS

NOT SOLD SEPARAT

GUIDE - spring

1шт.

6

NSS

NOT SOLD SEPARAT

RETAINER - spring stop

1шт.

7

NSS

NOT SOLD SEPARAT

STOP - spring

1шт.

8

NSS

NOT SOLD SEPARAT

SPRING - spool, outer

1шт.

9

NSS

NOT SOLD SEPARAT

SPRING - spool, inner

1шт.

10

NSS

NOT SOLD SEPARAT

SHIM SET - spring

1шт.

P3743361

CARTRIDGE

LIMITER ASSEMBLY - travel speed, Includes: Ref. 11 - 19

1шт.

11

NSS

NOT SOLD SEPARAT

HOUSING - piston

1шт.

12

P32884

SCREW

SET SCREW - housing, 6 mm x 10 mm

1шт.

13

P436205

RING, SNAP

SNAP RING - housing

1шт.

14

P1930415

O-RING

- piston

1шт.

15

P6027806

PISTON

- limiter

1шт.

16

P1538160

COMPRESSION SPRING

SPRING - piston

1шт.

17

P4037551

FITTING

ADAPTER -, Serial Range: housing-block

1шт.

18

P1830425

O-RING

- adapter, large

1шт.

19

P1730434

GASKET

O-RING - adapter, small

1шт.

20

P1945388

BLOCK

SHIM - spring, 0.010" thick

1шт.

21

P1945392

BLOCK

SHIM - spring, 0.040" thick

1шт.

Выбрано товаров: 24