Запчасти Case 688 (8-182) - TOOL CYLINDER CIRCUIT, TUBES AT ARM (08) - HYDRAULICS

Схема запчастей Case 688 - (8-182) - TOOL CYLINDER CIRCUIT, TUBES AT ARM (08) - HYDRAULICS
11
7
14
7
15
8
7
9
6
8
3
8
8
12
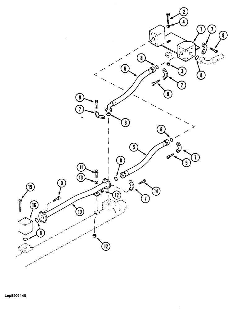
1
5
16
9
2
8
13
7
10
12
8
9
7
9
4
9
FIT
1:1
100%

Артикул

Название

Примечание

Количество

1

P5328271

ELEC SUPPORT PLATE

BLOCK - manifold, hose flange

1шт.

2

P933839

SCREW

BOLT - hex, 10 mm x 35 mm

2шт.

3

100016

NUT,M10 x 1.5, Cl 8

2шт.

4

P4328796

WASHER

SPACER - bolt, 7 mm thick

2шт.

5

P5931919

HOSE

- 31-1/2" long, to rod end of arm cylinder

1шт.

6

P5931932

HOSE

- 24-13/16" long, to base end of arm cylinder

1шт.

7

P4024266

CLAMP

SPLIT FLANGE - hose flange

16шт.

8

P1130483

O-RING

- tube and hose flange

8шт.

9

14420331

HEX SOC SCREW,M10 x 1.5 x 35mm, Cl 10.9, Full Thd

24шт.

10

P8447665

PIPE

TUBE - to block at rod end of cylinder

1шт.

11

P933839

SCREW

BOLT - hex, 10 mm x 35 mm

1шт.

12

86500689

NUT,M10 x 1.5, Cl 10

5шт.

13

P3528795

WASHER

SPACER - bolt, 7 mm thick

1шт.

14

P732994

SCREW

BOLT - hex socket, 10 mm x 50 mm, grade 10.9

4шт.

15

P1032989

SCREW

BOLT - hex socket, 10 mm x 70 mm, grade 10.9

4шт.

16

P1737025

ANGLE

BLOCK - mounting, Serial Range: tube-cylinder

1шт.

Выбрано товаров: 16