Запчасти Case 688 (9-004) - TURNTABLE AND PANELS (09) - CHASSIS

Схема запчастей Case 688 - (9-004) - TURNTABLE AND PANELS (09) - CHASSIS
9
14
5
7
6
10
2
1
3
4
8
13
12
15
11
16
FIT
1:1
100%

Артикул

Название

Примечание

Количество

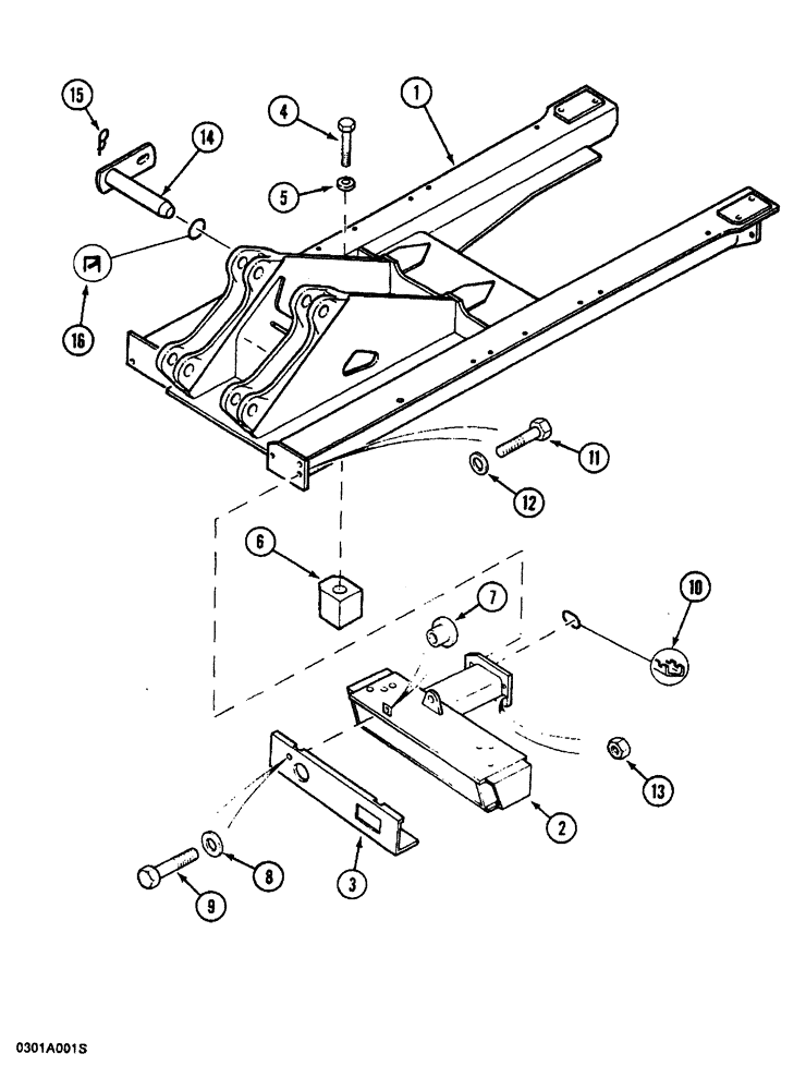
1

P1054907

FRAME

TURNTABLE - excavator

1шт.

2

P7543802

SUPPORT

Cab, front, Incl. Ref. 3

1шт.

3

P36667

FENDER

BRACKET - hinge

2шт.

4

P7543803

SUPPORT

PANEL - mounting, hinged, horn and lamp, Incl. Ref. 5

1шт.

5

P36669

FIXED HINGE

PIN - hinge, panel

2шт.

P34607

WASHER

Flat, 6 mm

2шт.

7

P35510

SPLIT PIN

COTTER PIN - 2 mm x 20 mm

2шт.

8

P3528795

WASHER

SPACER - bolt, 7 mm thick

2шт.

9

11106231

BOLT,Hex, M10 x 1.5 x 25mm, Cl 10.9

2шт.

10

REF

INSTRUCTION

SEAL - rubber, 4-3/16" long, cut from E1303161

1шт.

11

P33866

SCREW

BOLT - hex head, 20 mm x 75 mm

2шт.

12

P4328474

SPACER - bolt, 14 mm thick

2шт.

13

P134564

SAFETY NUT

Hex, self-locking, 20 mm

2шт.

14

P50388

HEADED PIN

Mounting, boom and boom, Serial Range: cylinder-turntable

4шт.

15

P36020

SPLIT PIN/SAFETY PIN

4шт.

16

P151309

SEAL

Mounting pin

8шт.

17

P3037441

PLASTIC PLUG

Panel at front

1шт.

18

P3237454

PLASTIC PLUG

Support, at side

1шт.

Выбрано товаров: 18