Запчасти Case 688 (9-026) - FLOOR FIXATION (09) - CHASSIS

Схема запчастей Case 688 - (9-026) - FLOOR FIXATION (09) - CHASSIS
8
7
2
8
4
4
5
5
7
3
6
3
6
1
FIT
1:1
100%

Артикул

Название

Примечание

Количество

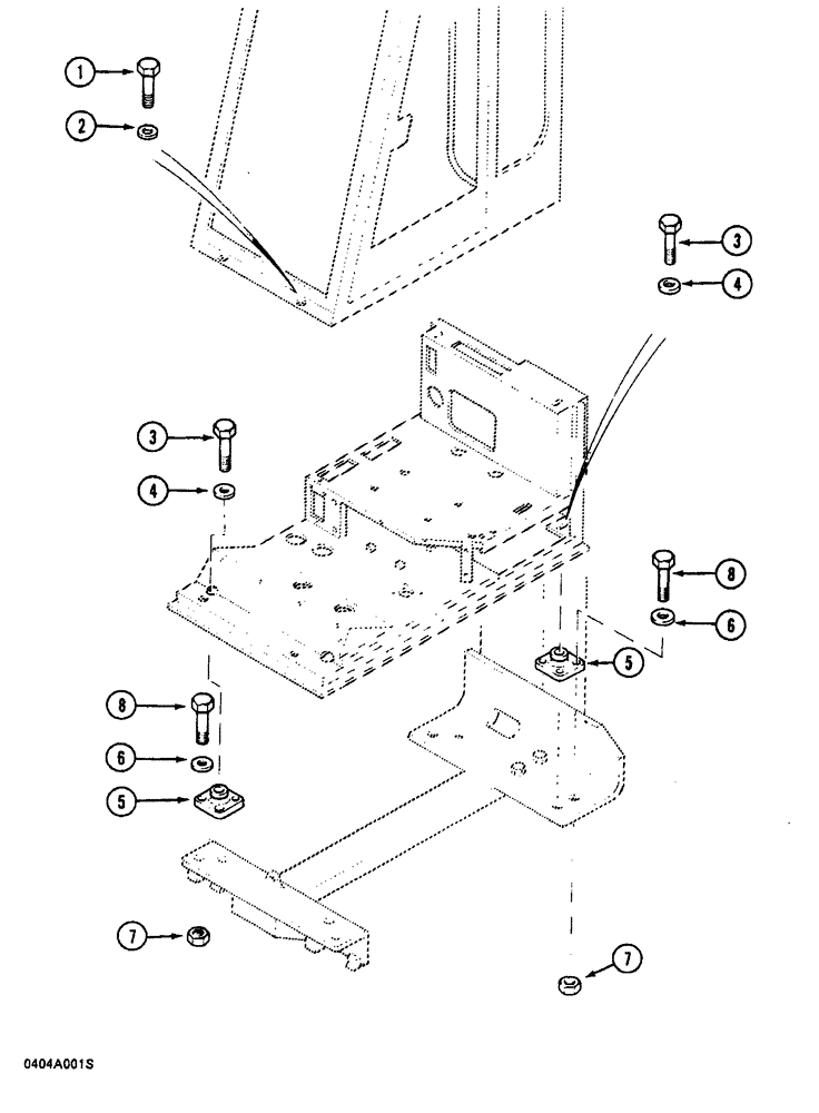
1

P533846

SCREW

BOLT - hex, 14 mm x 40 mm

4шт.

2

P3528792

WASHER

SPACER - bolt, 10 mm thick

4шт.

3

P533837

SCREW

BOLT - hex, 12 mm x 40 mm

4шт.

4

P3528793

WASHER

SPACER - bolt, 8 mm thick

4шт.

5

P4441449

SUPPORT

MOUNT - rubber, floor, front (Replaces P3841491)

4шт.

6

P3528795

WASHER

SPACER - bolt, 7 mm thick

9шт.

7

P34598

SAFETY NUT

NUT - hex, self-locking, 10 mm

9шт.

8

P1133839

SCREW

BOLT - hex, 10 mm x 45 mm

4шт.

Выбрано товаров: 8