Качественные детали и логистика
Оригинальные и аналоговые запчасти с доставкой по России, Казахстану и Беларуси
©2022 PartSell ООО "Система" ИНН 2463123282 ОГРН 1212400004838
Центральный офис: г. Красноярск, Академика Киренского, д.87, пом.4
Телефон: 8 (800) 777-65-74 Email: zakaz@partsell.ru
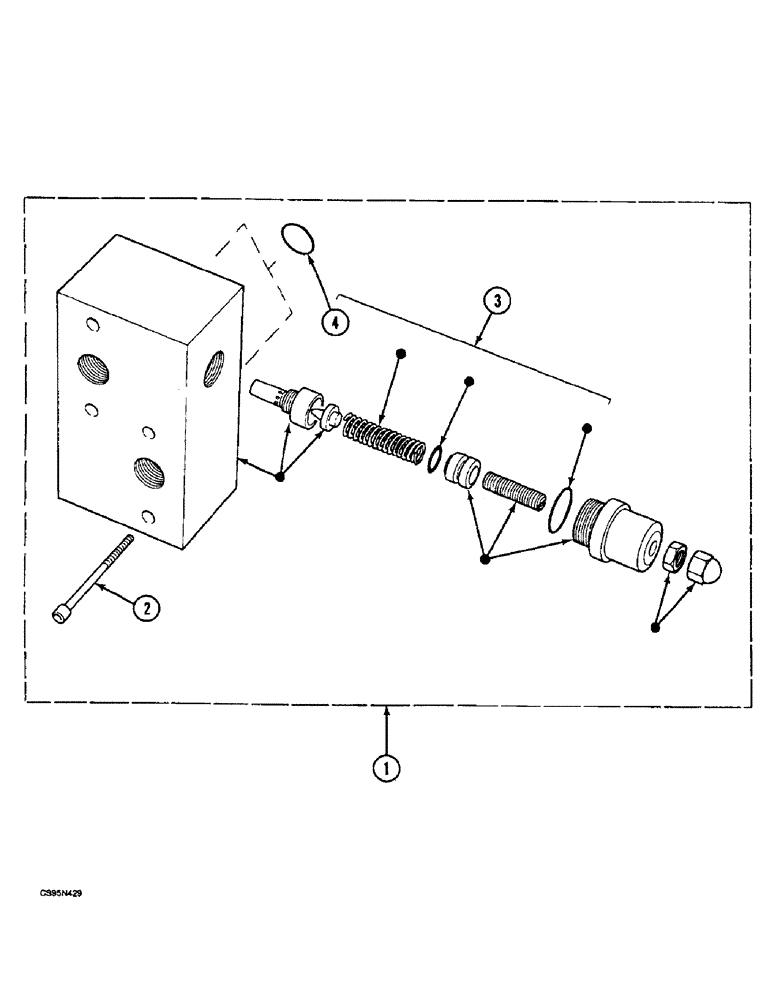
(2-18) - VALVE, SECONDARY RELIEF
№
Артикул
Название
Примечание
Количество
1
B2643391
SHIN
VALVE second. relief
1шт.
2
W1232958
BOLT,M8 x 45mm, Cl 10.9
4шт.
3
R5449635
KIT
parts
4
V30402
O-RING,2.5mm Thk x 22.5mm ID, 80 Duro
2.5 x 22.5
2шт.
Выбрано товаров: 0