Запчасти Case 688BCK (9B-14) - UPPERSTRUCTURE LOWER PANELS, 688B CK(120455-) (05.1) - UPPERSTRUCTURE CHASSIS/ATTACHMENTS

Схема запчастей Case 688BCK - (9B-14) - UPPERSTRUCTURE LOWER PANELS, 688B CK(120455-) (05.1) - UPPERSTRUCTURE CHASSIS/ATTACHMENTS
2
5
8
3
1
4
2
4
7
12
16
17
13
3
6
10
15
14
9
11
11
1
6
FIT
1:1
100%

Артикул

Название

Примечание

Количество

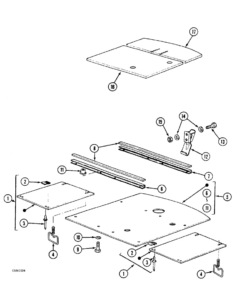
1

A7043888

PANEL

2шт.

2

T2826165

CLIP,ELECTRICAL

4шт.

3

D35446

RIVET

8шт.

4

L852091

HANDLE

FLAT IRON

4шт.

5

P7043832

PANEL

PLATE

1шт.

6

V2125771

BRACKET

1шт.

7

U2125770

BRACKET

1шт.

8

Z3127

GASKET

90131 ORDER LENGTH: 995MM

2шт.

9

43127

BOLT,Hex, M8 x 1.25 x 25mm, Cl 8.8

8шт.

10

Q35020

WASHER

L8

8шт.

11

F35448

RIVET,8mm OD x 18mm L

M8

8шт.

12

N3036932

HOOK

LATH

1шт.

13

120098

BOLT,Hex, M5 x 20, 8.8, Full Thd

2шт.

14

D4328718

WASHER

5.25 x 3.5 x 12

2шт.

15

V834574

SAFETY NUT

M5

2шт.

16

V4441457

FOAM

INSULATION

1шт.

17

W4441458

FOAM

INSULATION

1шт.

Выбрано товаров: 17