Запчасти Case 688BCK (9E-72) - WINDSHIELD RAISING POWER ASSISTANCE SYSTEM, 688B CK (120301-) (05.1) - UPPERSTRUCTURE CHASSIS/ATTACHMENTS

Схема запчастей Case 688BCK - (9E-72) - WINDSHIELD RAISING POWER ASSISTANCE SYSTEM, 688B CK (120301-) (05.1) - UPPERSTRUCTURE CHASSIS/ATTACHMENTS
5
6
7
2
7
3
9
4
4
6
3
8
5
1
FIT
1:1
100%

Артикул

Название

Примечание

Количество

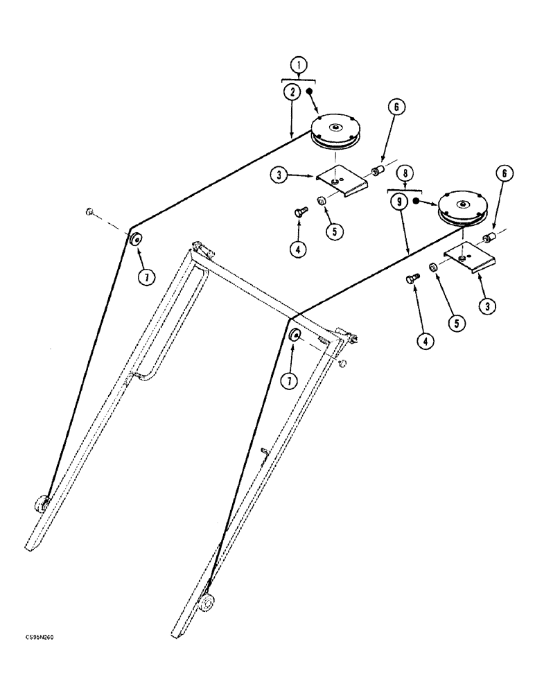
1

R5242727

CABLE WINDER

90313 RIGHT

1шт.

2

K9847252

CABLE

1шт.

3

E7628253

SUPPORT

2шт.

4

120104

BOLT,Hex, M8 x 1.25 x 20mm, Cl 8.8

4шт.

5

715853R1

RING

M8 N

4шт.

6

H35427

RIVET

M8

4шт.

7

D1538588

ROPE PULLEY

2шт.

8

S5242728

CABLE WINDER

90313 LEFT

1шт.

9

K9847252

CABLE

1шт.

Выбрано товаров: 9