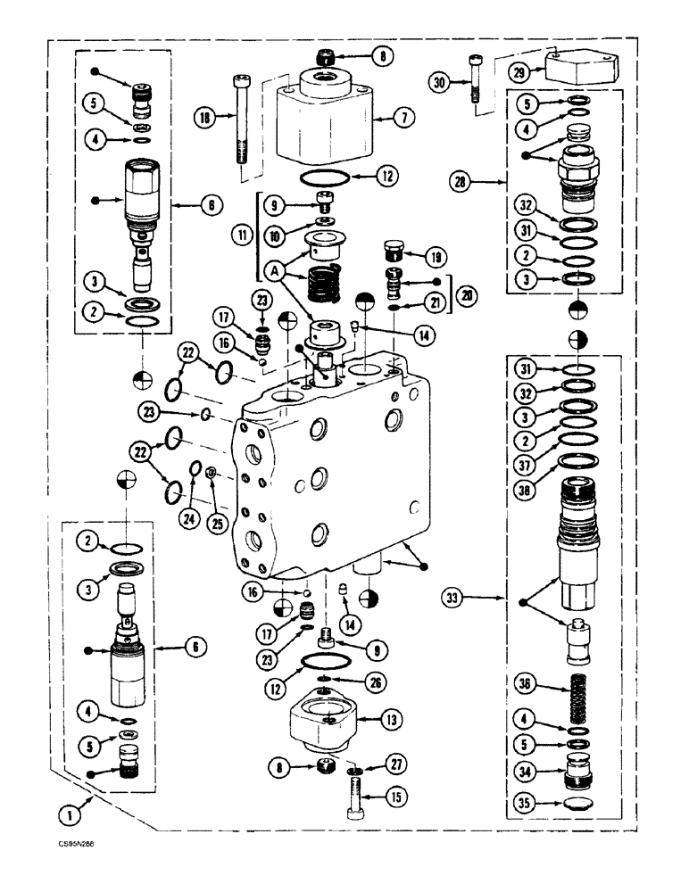
Запчасти Case 688BCK (7-16) - CONTROL VALVE SECTION - LEFT TRAVEL, 688B CK (120301-) (07.1) - UNDERCARRIAGE HYDRAULICS

Схема запчастей Case 688BCK - (7-16) - CONTROL VALVE SECTION - LEFT TRAVEL, 688B CK (120301-) (07.1) - UNDERCARRIAGE HYDRAULICS
12
21
36
16
6
27
5
2
17
3
32
9
35
22
29
10
14
16
3
11
24
1
26
2
2
2
17
33
20
12
4
8
5
28
13
14
18
19
6
4
4
22
25
34
3
31
15
31
38
5
9
37
23
7
5
32
23
23
4
3
8
30
FIT
1:1
100%

Артикул

Название

Примечание

Количество

1

N4043665

DISTRIBUTOR

CONTROL VALVE

1шт.

2

R2230463

O-RING,0.103" Thk x 0.987" ID, -120, Cl 5, 75 Duro

2.65 x 25

1шт.

3

N1245232

RING

BUSHING

1шт.

4

Q2230462

O-RING,0.103" Thk x 0.549" ID, -113, Cl 6, 90 Duro

2.65 x 14

1шт.

5

M1245231

BACK-UP RING

1шт.

6

P3143676

VALVE, PRESSURE RELI

EF SHOCK ABSORBER

2шт.

7

M4243212

CAP

1шт.

8

W3733012

SET SCREW

2шт.

9

K1432932

SCREW,Hex, M8 x 10, 10.9

2шт.

10

V1945382

WASHER

1шт.

11

Q4043667

SET

1шт.

12

V2930449

O-RING

2шт.

13

L4243211

CAP

1шт.

14

B4243225

JET

2шт.

15

L32923

SCREW

M8 x 30

2шт.

16

X31002

BALL

2шт.

17

C3628827

SEAT

2шт.

18

931527R1

HEX SOC SCREW,M8 x 65mm, Cl 10.9

2шт.

19

C3037405

PLUG

1шт.

20

K2950564

CARTRIDGE

1шт.

21

T1730422

O-RING,0.07" Thk x 0.18" ID, -8, Cl 5, 75 Duro

1.78 x 4.47

1шт.

22

V2230467

O-RING,0.103" Thk x 1.11" ID, -122, Cl 5, 75 Duro

2.65 x 28

4шт.

23

T1730422

O-RING,0.07" Thk x 0.18" ID, -8, Cl 5, 75 Duro

1.78 x 4.47

8шт.

24

U2230466

O-RING,0.07" Thk x 0.489" ID, -14, Cl 6, 90 Duro

1.8 x 12.5

1шт.

25

D3628828

BACK-UP RING

1шт.

26

P1630460

O-RING,0.07" Thk x 0.364" ID, -12, Cl 5, 75 Duro

2шт.

27

C2646060

WASHER

SEAL

2шт.

28

V4043672

SET

1шт.

29

F4043658

SHIN

COVER PLATE

1шт.

30

A732964

SCREW

M8 x 40

2шт.

31

H3230403

O-RING,0.103" Thk x 0.862" ID, -118, Cl 6, 90 Duro

1шт.

32

H2445206

RING

BUSHING

1шт.

33

R4043668

SET

1шт.

34

G3143669

SPARE PART SET

1шт.

35

E2340461

BLANK-OFF PLUG

1шт.

36

V2838173

SPRING

1шт.

37

W30403

O-RING,0.103" Thk x 1.049" ID, -121, Cl 5, 75 Duro

2.62 x 26.64

1шт.

38

G2445205

RING

BUSHING

1шт.

Выбрано товаров: 38