Запчасти Case 688BCK (4-20) - ELECTRICAL CIRCUIT - UPPERSTRUCTURE, 688B CK (120301-) (06) - ELECTRICAL SYSTEMS

Схема запчастей Case 688BCK - (4-20) - ELECTRICAL CIRCUIT - UPPERSTRUCTURE, 688B CK (120301-) (06) - ELECTRICAL SYSTEMS
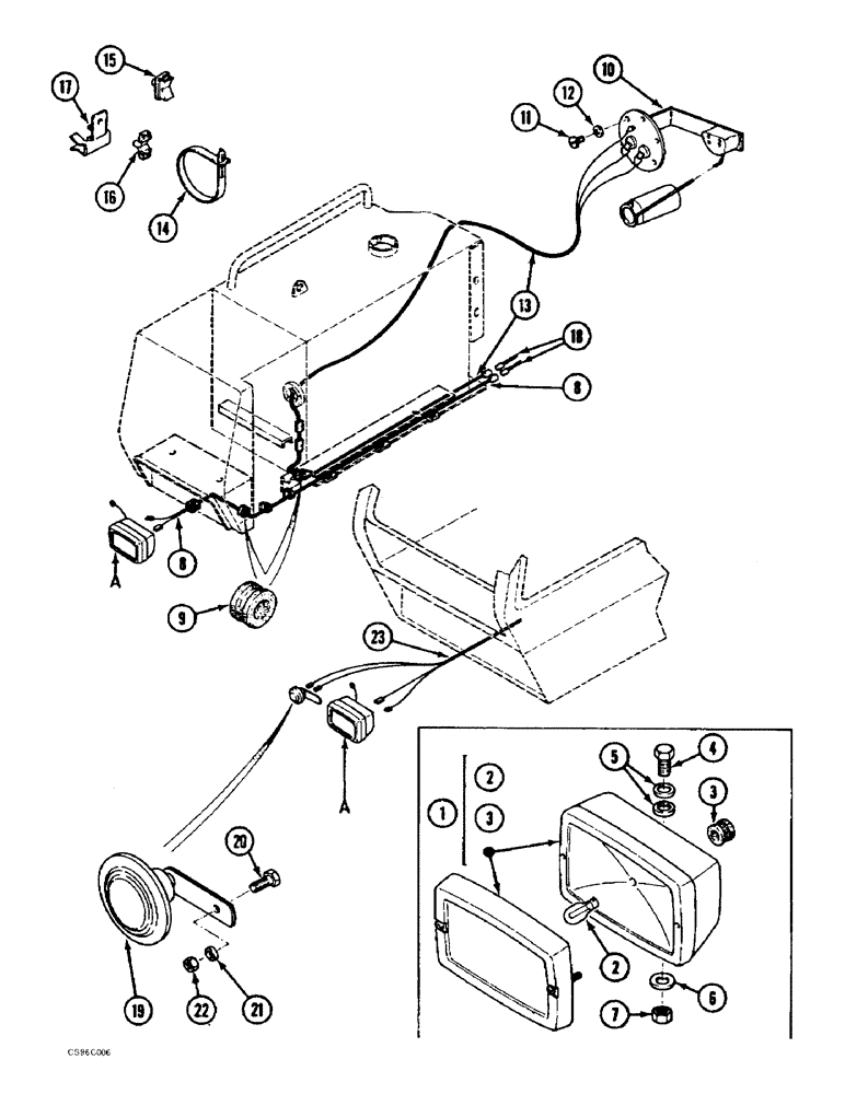
13
23
17
16
20
19
3
15
12
5
2
7
11
22
8
2
4
10
18
8
14
9
6
1
3
21
FIT
1:1
100%

Артикул

Название

Примечание

Количество

1

H841784

HEADLIGHT

2шт.

2

K340501

BULB

24V

1шт.

3

N2741405

GROMMET

1шт.

4

43140

BOLT,Hex, M10 x 1.5 x 30mm, Cl 8.8

2шт.

5

W35003

WASHER

M10 N

4шт.

6

CASJ934912

TUBE

2шт.

7

G34598

SAFETY NUT

M10

2шт.

8

S1952279

CABLE

HARNESS, 43510 688B CK (120301-120534, 120536-120605)

1шт.

8

Z2252251

HARNESS

43510 688B CK (120535, 120606-)

1шт.

9

T2541402

GROMMET

DIA. 25, 42013 688B CK (120301-120534, 120536-120605)

2шт.

9

T2541402

GROMMET

DIA. 25, 42013 688B CK (120535, 120606-)

1шт.

9

K41478

GROMMET

DIA. 51, 42013 688B CK (120535, 120606-)

1шт.

10

K2341869

FUEL GAUGE

1шт.

11

J32530

SCREW,Sltd Fil Hd, M4 x 10

6шт.

12

M34603

WASHER

M4 U

6шт.

13

T1952280

HARNESS

1шт.

14

V336923

CLAMP

COLLAR 117MM

1шт.

14

N51946

CLAMP

COLLAR 258MM

1шт.

15

G3036926

BASE

1шт.

16

PP2036939

CLASP

THONG

1шт.

17

Z2036902

CLASP

THONG 3-7MM

1шт.

18

REF

INSTRUCTION

CIRCUIT SEE FIGURE: 4-14

1шт.

19

J4143205

BUZZER

1шт.

20

120104

BOLT,Hex, M8 x 1.25 x 20mm, Cl 8.8

1шт.

21

V3528749

WASHER 8.25 x 6 x 20

1шт.

22

43362

NUT,M8 x 1.25, Cl 10

1шт.

23

REF

INSTRUCTION

CIRCUIT SEE FIGURE: 4-4

1шт.

Выбрано товаров: 27