Запчасти Case 688C (8C-44) - SELECTOR BLOCK, (XXXXX-) (07) - HYDRAULIC SYSTEM

Схема запчастей Case 688C - (8C-44) - SELECTOR BLOCK, (XXXXX-) (07) - HYDRAULIC SYSTEM
18
17
27
5
12
26
25
3
24
21
29
4
25
11
28
6
14
23
16
7
10
19
13
2
22
9
8
15
20
1
FIT
1:1
100%

Артикул

Название

Примечание

Количество

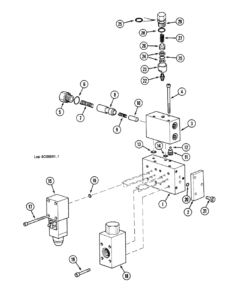
1

J3923371

BODY

1шт.

2

W4323353

LARGE PLATE

PLATE, LARGE

1шт.

K4743391

SHIN

BRACKET Consist Of : 3-14

1шт.

3

BRACKET Order : K4743391

1шт.

4

Z632913

SCREW

M5 x 80

3шт.

5

R3743357

CAP

1шт.

6

G1145268

GASKET

WASHER "9.6 x 24.3 x 1.5"

1шт.

7

Q1038211

SPRING

1шт.

8

SPOOL Order : K4743391

1шт.

9

R1038212

SPRING

1шт.

10

VALVE Order : K4743391

1шт.

11

Q3743356

SEAT

1шт.

12

X31002

BALL

1шт.

13

P1130463

O-RING

"1.78 x 15.6-80", Order : J913994

2шт.

14

Z1230430

O-RING

"1.78 x 9.25-80", Order : J910824

1шт.

Z4943343

SHIN

BRACKET Consist Of : 15, 16, 17

1шт.

15

BRACKET Order : Z4943343

1шт.

16

Z1230430

O-RING

"1.78 x 9.25-80", Order : J910824

4шт.

17

864-5030

HEX SOC SCREW,M5 x 30mm, Cl 8.8

M5 x 55

4шт.

18

VALVE limiter, See Figure : 8C-48

1шт.

19

G1332902

SCREW,Hex Skt Hd, M5 x 55mm

4шт.

20

P1130463

O-RING

"1.78 x 15.6-80", Order : J913994

2шт.

21

120228

HEX SOC SCREW,M8 x 20mm, Cl 8.8, Full Thd

3шт.

22

N4237509

UNION

1шт.

R7046042

GASKET

"11.5 x 16.5 x 1.5"

1шт.

T5837716

CARTRIDGE

Consist Of : 23-29

1шт.

23

BODY Order : T5837716

1шт.

24

M1145296

BACK-UP RING

Order : J9646001

2шт.

25

G30458

O-RING,0.103" Thk x 1.174" ID, -123, Cl 5, 75 Duro

"2.62 x 29.82-80"

2шт.

26

D6427836

PISTON

1шт.

27

C2838110

SPRING

1шт.

28

S1230493

O-RING,37.69mm ID x 3.53mm Width

"3.53 x 37.69-80"

1шт.

29

COVER Order : T5837716

1шт.

Выбрано товаров: 33