Запчасти Case 688C (8G-032) - DIPPERSTICK CYLINDER (OFFSET BACKHOE BOOM) (07) - HYDRAULIC SYSTEM

Схема запчастей Case 688C - (8G-032) - DIPPERSTICK CYLINDER (OFFSET BACKHOE BOOM) (07) - HYDRAULIC SYSTEM
7
10
4
6
2
13
2
4
3
1
9
11
3
8
5
FIT
1:1
100%

Артикул

Название

Примечание

Количество

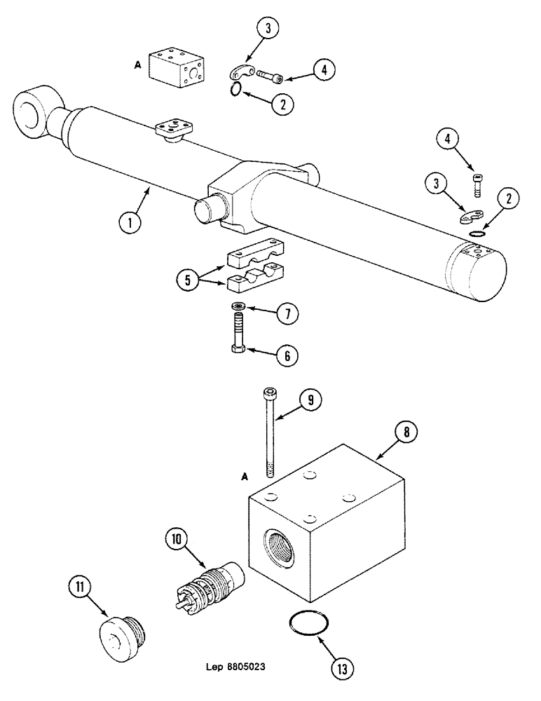
1

CYLINDER, See Figure :, Serial Range: 8G-90-8G-94

1шт.

2

L1130483

O-RING

"3.53 x 24.99-80"

2шт.

3

C4024266

CLAMP

half

4шт.

4

14420331

HEX SOC SCREW,M10 x 1.5 x 35mm, Cl 10.9, Full Thd

8шт.

5

R4620370

SHIN

CLAMP half

2шт.

6

814-10085

BOLT,Hex, M10 x 1.5 x 85mm, Cl 8.8

2шт.

7

N4328796

WASHER

"10.25 x 7 x 25"

2шт.

A4343389

SHIN

BRACKET Consist Of : 8-13

1шт.

8

BODY Order : A4343389

1шт.

9

M632925

SCREW

M10 x 70

4шт.

10

X4343387

LIMITER, TRAVEL

LIMITER

1шт.

11

A2537429

PLUG

1шт.

V5746063

GASKET

"23.9 x 29.2 x 1.5"

1шт.

13

L1130483

O-RING

"3.53 x 24.99-80"

1шт.

Выбрано товаров: 14