Качественные детали и логистика
Оригинальные и аналоговые запчасти с доставкой по России, Казахстану и Беларуси
©2022 PartSell ООО "Система" ИНН 2463123282 ОГРН 1212400004838
Центральный офис: г. Красноярск, Академика Киренского, д.87, пом.4
Телефон: 8 (800) 777-65-74 Email: zakaz@partsell.ru
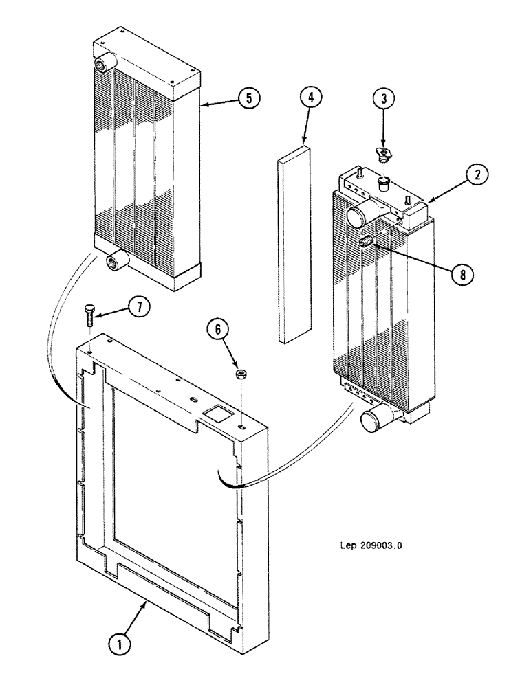
(2-20) - RADIATOR AND OIL COOLER, (-11102)
№
Артикул
Название
Примечание
Количество
C3743275
RADIATOR
COOLER Consist Of : 1-8, Order : C4143245
1шт.
1
SUPPORT Order : C4143245
2
U4143215
ELEMENT Order : E4143247
3
W2537495
PLUG
Order : A170241
4
J4143251
SUPPORT
PROTECTOR
5
V4143216
ELEMENT Order : T4143237
6
43362
NUT,M8 x 1.25, Cl 10
4шт.
7
16043224
BOLT,Hex, M8 x 16mm, Cl 8.8
8
F1137424
Выбрано товаров: 0