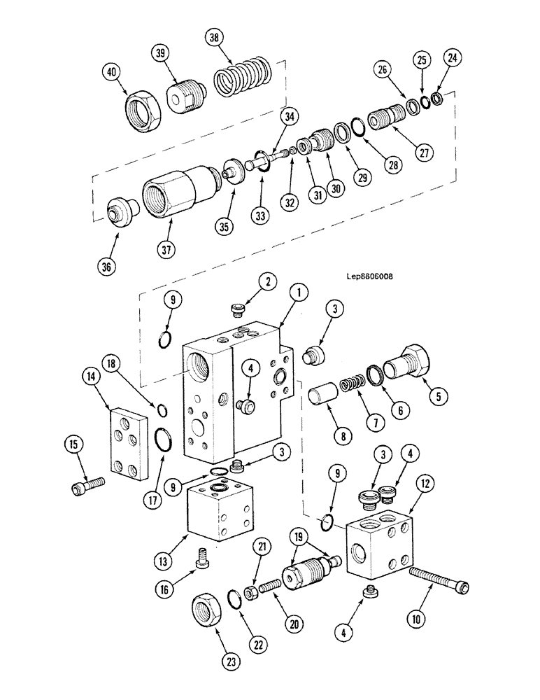
Запчасти Case 688C (8G-114) - BOOM CYLINDERS SAFETY VALVE, (-10663) (07) - HYDRAULIC SYSTEM

Схема запчастей Case 688C - (8G-114) - BOOM CYLINDERS SAFETY VALVE, (-10663) (07) - HYDRAULIC SYSTEM
13
7
12
8
30
17
9
16
35
28
36
10
22
24
34
40
38
26
21
9
25
29
4
4
33
1
23
3
18
15
5
6
37
31
27
3
39
19
4
9
14
32
2
20
3
FIT
1:1
100%

Артикул

Название

Примечание

Количество

X4043306

SHIN

BRACKET Consist Of : 1-40, Order : N4743348

1шт.

1

BODY Order : N4743348

1шт.

2

V2537448

PLUG

4шт.

S2230441

GASKET

"8.4 x 11.9 x 1"

1шт.

3

H2537413

PLUG

3шт.

G1145268

GASKET

"9.6 x 24.3 x 1.5"

1шт.

4

U2537447

PLUG

4шт.

R7046042

GASKET

"11.5 x 16.5 x 1.5"

1шт.

5

X3237432

PLUG

1шт.

6

T945294

GASKET

"29.7 x 35.7 x 2"

1шт.

7

P1538161

COMPRESSION SPRING

1шт.

8

H1729837

VALVE POPPET

1шт.

9

L1130483

O-RING

"3.53 x 24.99-80"

3шт.

10

F732969

SCREW

M10 x 100

4шт.

12

A4043308

BLOCK ASSY.

1шт.

13

X1737050

MANIFOLD VALVE

PIECE

1шт.

14

V4223394

LARGE PLATE

PLATE, LARGE

1шт.

15

L1232925

SCREW

M10 x 30

4шт.

16

K532988

SCREW,Hex Soc Hd, M10 x 25, 10.9

4шт.

17

D330421

O-RING,0.139" Thk x 1.296" ID, -219, Cl 6, 90 Duro

"3.53 x 32.92-80"

1шт.

18

S1330405

O-RING,0.07" Thk x 0.864" ID, -20, Cl 7, 75 Duro

"1.78 x 21.95-80"

1шт.

C4043310

CARTRIDGE

Consist Of : 19-36

1шт.

19

CARTRIDGE Order : C4043310

1шт.

20

E32825

STUD

M8 x 25

1шт.

21

L34211

NUT,M8

1шт.

22

K30323

SEAL

3.6 x 30.8"

1шт.

23

F2434555

NUT

M33

1шт.

J4043385

CARTRIDGE

Consist Of : 24-36

1шт.

24

F1245248

BACK-UP RING

JOINT

1шт.

25

S1830425

O-RING

"2.62 x 13.11-80"

1шт.

26

G1145268

GASKET

"9.6 x 24.3 x 1.5"

1шт.

27

A1029434

GUIDE

1шт.

28

J30460

O-RING,0.103" Thk x 0.987" ID, -120, Cl 5, 75 Duro

"2.62 x 25.07-80"

1шт.

29

F1145267

BACK-UP RING

JOINT

1шт.

30

P2434563

NUT

M33

1шт.

31

E2434554

NUT

M22

1шт.

32

S151241

SPECIAL MAT. SEAL

1шт.

33

P630443

O-RING

"3.53 x 29.74-80"

1шт.

34

B6027841

SPOOL

VALVE drawer

1шт.

35

B1329953

TAPPET

PUSHER

1шт.

36

S2728897

GUIDE

1шт.

37

V729786

CAP

1шт.

38

Q1538162

COMPRESSION SPRING

1шт.

39

A3533007

SCREW

1шт.

40

V34197

NUT

M48

1шт.

Выбрано товаров: 45