Качественные детали и логистика
Оригинальные и аналоговые запчасти с доставкой по России, Казахстану и Беларуси
©2022 PartSell ООО "Система" ИНН 2463123282 ОГРН 1212400004838
Центральный офис: г. Красноярск, Академика Киренского, д.87, пом.4
Телефон: 8 (800) 777-65-74 Email: zakaz@partsell.ru
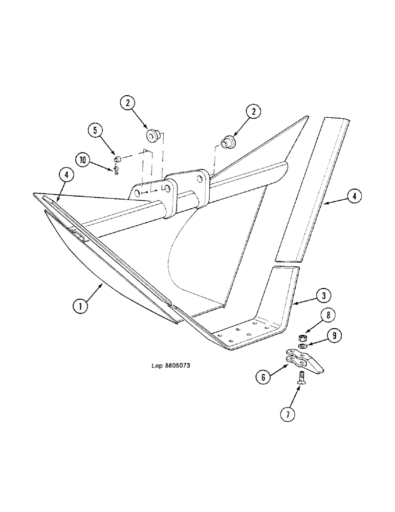
(9G-30) - V-LINE BUCKET (0.35M 2.10M)
№
Артикул
Название
Примечание
Количество
1
BUCKET Consist Of : 2-5, See To Sales Department
1шт.
2
J5428744
BUSHING,60.2mm ID x 85mm OD x 40mm L
60 x 75 x 40
4шт.
3
V2326791
BLADE
4
N1721263
STIFFENER
2шт.
5
F50053
SHAFT LOCK
6
B44621
TOOTH
7
W32496
BOLT,M16 x 70mm, Cl 8.8
8
Q34169
NUT
M16
9
J34715
WASHER
W16
10
C36020
SPLIT PIN/SAFETY PIN
Выбрано товаров: 0