Запчасти Case 220B (8-182) - OIL COOLER FAN MOTOR, MOTOR SERIAL NUMBER 40700000 THROUGH 60199999 (08) - HYDRAULICS

Схема запчастей Case 220B - (8-182) - OIL COOLER FAN MOTOR, MOTOR SERIAL NUMBER 40700000 THROUGH 60199999 (08) - HYDRAULICS
FIT
1:1
100%

Артикул

Название

Примечание

Количество

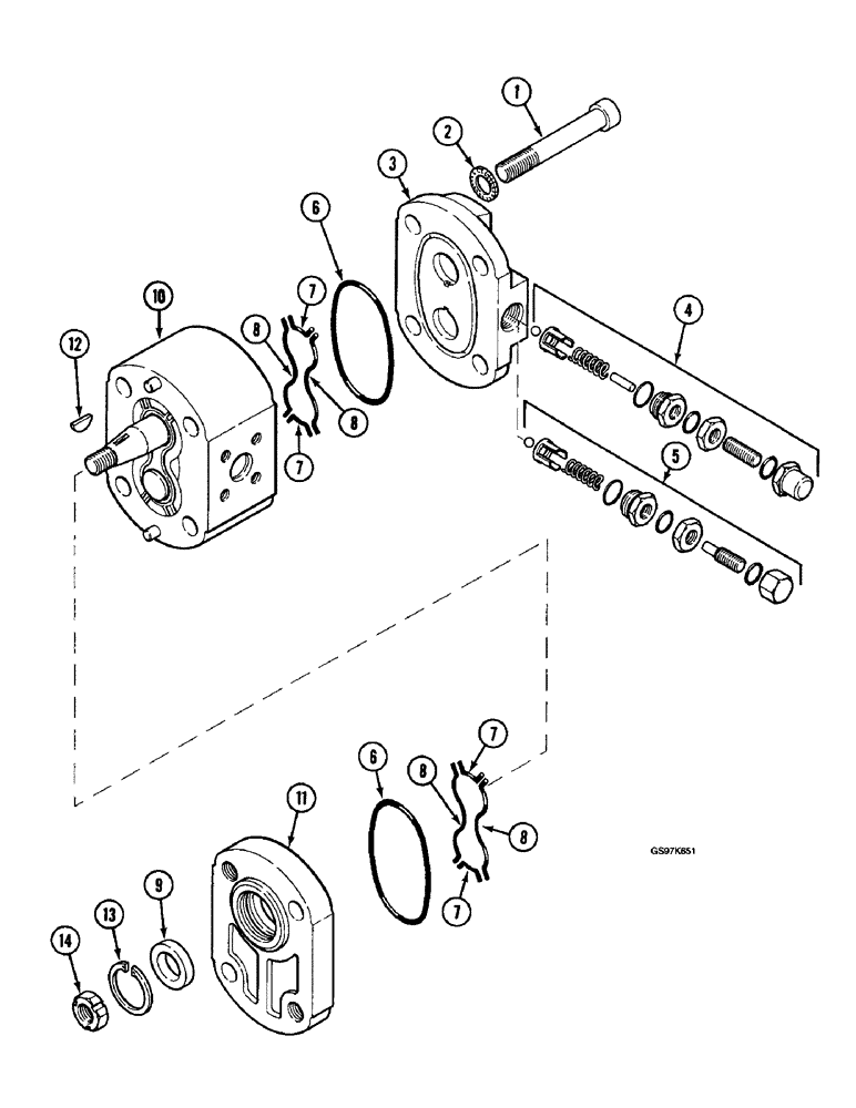
P1943763

HYDRAULIC MOTOR

MOTOR ASSEMBLY - oil cooler fan, no longer available, order motor assembly P4743717, parts list Figure 8-184, Includes: Ref. 1 - 14

1шт.

1

NSS

NOT SOLD SEPARAT

BOLT - port end cover, order motor assembly

4шт.

2

NSS

NOT SOLD SEPARAT

WASHER - lock, order motor assembly

4шт.

3

NSS

NOT SOLD SEPARAT

COVER - rear, order motor assembly

1шт.

4

REF

INSTRUCTION

VALVE ASSEMBLY - relief, no longer used, for service order cartridge relief valve P5949655, Ref. 4 on Figure 8-184

1шт.

5

P5449608

KIT

VALVE ASSEMBLY - relief, cartridge-type, contains no individual serviceable components, order valve assembly P5949655 on Figure 8-184

1шт.

P3749612

SEAL PACKAGE

KIT - seal repair, Includes: Ref. 6 - 9

1шт.

6

NSS

NOT SOLD SEPARAT

O-RING - gear housing, order kit P3749612

2шт.

7

NSS

NOT SOLD SEPARAT

SEAL - small, gear housing, order kit P3749612

4шт.

8

NSS

NOT SOLD SEPARAT

SEAL - large, gear housing, order kit P3749612

4шт.

9

P151415

OIL SEAL

SEAL - shaft

1шт.

10

NSS

NOT SOLD SEPARAT

HOUSING - gear, order motor assembly

1шт.

11

NSS

NOT SOLD SEPARAT

COVER - shaft end, order motor assembly

1шт.

12

P236140

BUCKET TOOTH KEY

KEY - shaft

1шт.

13

P36215

RING, SNAP

RING - snap, shaft

1шт.

14

P1634599

SAFETY NUT

NUT - locking

1шт.

Выбрано товаров: 16