Запчасти Case 220B (3-03) - FUEL TANK, P.I.N. 03201 AND AFTER (03) - FUEL SYSTEM

Схема запчастей Case 220B - (3-03) - FUEL TANK, P.I.N. 03201 AND AFTER (03) - FUEL SYSTEM
FIT
1:1
100%

Артикул

Название

Примечание

Количество

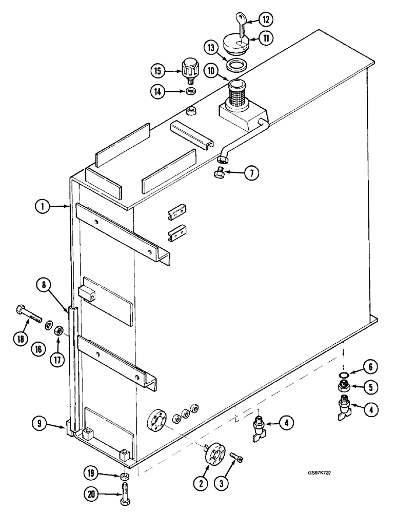
P840249

FUEL TANK

TANK ASSEMBLY - fuel, excavator, Includes: Ref. 1 - 13

1шт.

1

NSS

NOT SOLD SEPARAT

TANK - fuel, excavator, order tank assembly P840249

1шт.

2

P2141665

GAUGE

SENDER - low fuel warning lamp

1шт.

3

P32530

SCREW

- sending unit mounting

6шт.

4

P837827

COCK

VALVE - tank drain

3шт.

5

P1737417

PLUG

REDUCER - tank drain

2шт.

6

P130412

O-RING

- plug

2шт.

7

P37497

PLUG

- tube

1шт.

8

REF

INSTRUCTION

SEAL - fuel tank, 600 mm (23-5/8 inch) long, cut from bulk seal P303161 below

1шт.

9

REF

INSTRUCTION

SEAL - fuel tank,1400 mm (55-1/8 inch) long, cut from bulk seal P3128 below

1шт.

10

P50537

FILTER BOWL

STRAINER - fuel

1шт.

11

P3337451

FILLER CAP

CAP ASSEMBLY - fuel tank, Includes: Ref. 12 and 13

1шт.

12

P1352009

KEY

- lock, not shown

1шт.

13

P8846020

SEAL

GASKET - fuel cap (Replaces gasket P46096)

1шт.

14

P45239

WASHER, SEALING

SEAL - breather

1шт.

15

P50586

BREATHER

- fuel tank

1шт.

16

P3528790

WASHER

SPACER - bolt, 11 mm thick

2шт.

17

P134547

SAFETY NUT

NUT - bolt

2шт.

18

P133883

SCREW

BOLT - 16 mm x 110 mm, fuel tank mount

2шт.

19

P4328733

WASHER

SPACER - 32 mm thick

4шт.

20

814-16070

BOLT,Hex, M16 x 2 x 70mm, Cl 8.8

replaces bolt P33875 Hex, M16 x 70, 8.8

4шт.

P303161

SEAL

- bulk, sold by the meter

1шт.

P3128

SEAL

- bulk, sold by the meter

1шт.

Выбрано товаров: 23