Запчасти Case 220B (4-26) - CAB ELECTRICAL HARNESS, P.I.N. 74595 THROUGH 74597, P.I.N. 03201 AND AFTER (04) - ELECTRICAL SYSTEMS

Схема запчастей Case 220B - (4-26) - CAB ELECTRICAL HARNESS, P.I.N. 74595 THROUGH 74597, P.I.N. 03201 AND AFTER (04) - ELECTRICAL SYSTEMS
FIT
1:1
100%

Артикул

Название

Примечание

Количество

1

REF

INSTRUCTION

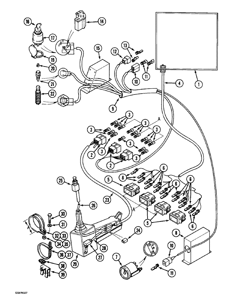
CIRCUIT - electrical box, see figures 4-46 and 4-48 for cab harness connections

1шт.

2

P840757

CASE

CONNECTOR - male, 6-way

3шт.

3

P40937

CLIP,ELECTRICAL

CLIP - wire

1шт.

4

P8547231

HARNESS

- wiring, electric box

1шт.

5

P740844

CASE

CONNECTOR - female, 6-way

4шт.

6

P40938

CONNECTION

RETAINER - wire

1шт.

7

P2141660

METER

HOURMETER - electric

1шт.

8

P5328216

SUPPORT

COVER - throttle control, includes mounting bracket, see Figure 3-12

1шт.

9

P9847204

HARNESS

ASSEMBLY - wiring, instruments, Includes: Ref. 10 - 13

1шт.

10

P440714

CASE

CONNECTOR - male, 2-way

2шт.

11

P640945

CLIP,ELECTRICAL

CLIP - wire

2шт.

12

P740848

CASE

CONNECTOR - female, 2-way

1шт.

13

P40938

CONNECTION

RETAINER - wire

1шт.

14

P1340710

CASE

CONNECTOR - harness, at key switch

1шт.

15

P5328211

SUPPORT

BRACKET - mounting, electrical components, see Figure 4-28

1шт.

P2741618

SWITCH

ASSEMBLY - key, electrical system, no longer available, order switch assembly 1987424C1 below, Includes: Ref. 16 and 17, Serial Range: 74595-74597

1шт.

P2741618

SWITCH

ASSEMBLY - key, electrical system, no longer available, order switch assembly 1987424C1 below, Includes: Ref. 16 and 17, Serial Range: 03201-03213

1шт.

1987424C1

SWITCH ASSY

SWITCH ASSEMBLY - key, electrical system, (Replaces switch assembly P2741648), Includes: Ref. 16 and 17, Start Serial: 03214

1шт.

16

1964831C1

IGNITION SWITCH

KEY - switch, ignition

2шт.

17

NSS

NOT SOLD SEPARAT

SWITCH - electrical system, order switch assembly

1шт.

19

1983228C1

COVER

- key switch (Replaces cover P2340476)

1шт.

20

P40560

LAMP

BULB - engine preheating indicator

1шт.

21

P641648

SIGHTGLASS

INDICATOR - engine preheating

1шт.

22

P1343242

CIGAR LIGHTER

LIGHTER - cigarette, electric

1шт.

23

P8547227

HARNESS

- wiring, horn and safety switch control

1шт.

24

P40941

CONNECTION,ELECTRIC

CONNECTOR - wire clip

4шт.

P2141655

IGNITION SWITCH

BUTTON AND SWITCH ASSEMBLY - horn control, Includes: Ref. 25 and 26

1шт.

25

P1541665

SWITCH

- horn control

1шт.

26

NSS

NOT SOLD SEPARAT

WIRE - horn switch, order assembly P2141655

1шт.

27

P2741651

DETECTOR

SWITCH ASSEMBLY - safety (Replaces switch P1541649), Includes: Ref. 28 - 39

1шт.

28

NSS

NOT SOLD SEPARAT

HARNESS - safety switch, order switch assembly P2741651

1шт.

29

REF

INSTRUCTION

CONSOLE - hand control valve, see figures 9-40 or 9-42

1шт.

30

J900227

BOLT,Hex, M8 x 1.25 x 22mm, Cl 10.9

1шт.

31

P3528794

WASHER

SPACER - bolt, 6 mm thick

1шт.

32

P51959

CLAMP

- harness, rubber coated, dimension A is 38 mm (1-1/2 inch)

1шт.

33

P1736988

CLAMP

- harness, rubber coated, dimension A is 44 - 51 mm (1-3/4 - 2 inch)

1шт.

34

P34113

NUT

- hex, 8 mm, used with clamp P51959, Ref. 32

1шт.

35

P1334571

NUT

- cage type, 8 mm, used with clamp P1736988, Ref. 33

1шт.

36

P336923

CLAMP

STRAP - tie, harness, 117 mm (4-5/8 inch) long

1шт.

37

P51946

CLAMP

STRAP - tie, harness, 258 mm (10-1/8 inch) long

1шт.

38

PP2036939

CLASP

RETAINER - tie strap

1шт.

39

P2036902

CLASP

CLIP - retainer, expands from 3 -7 mm (1/8 - 1/4 inch)

1шт.

Выбрано товаров: 42