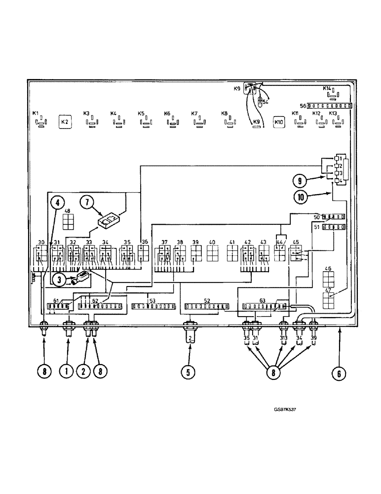
Запчасти Case 220B (4-46) - ELECTRICAL BOX SYSTEM, HARNESS CONNECTIONS TO ELECTRICAL BOX, P.I.N. 74570 THRU 74596 (04) - ELECTRICAL SYSTEMS

Схема запчастей Case 220B - (4-46) - ELECTRICAL BOX SYSTEM, HARNESS CONNECTIONS TO ELECTRICAL BOX, P.I.N. 74570 THRU 74596 (04) - ELECTRICAL SYSTEMS
FIT
1:1
100%

Артикул

Название

Примечание

Количество

1

P9547237

HARNESS

ASSEMBLY - instrument panel, parts list Figure 4-22

1шт.

2

REF

INSTRUCTION

HARNESS - cab wiring, see item 4 on Figure 4-24 or 4-26 for correct harness

1шт.

3

3178377R1

CONNECTION

CONNECTOR - electrical, two wire (Replaces connector P640964)

1шт.

4

P8647280

ELECTRICAL WIRE

WIRE - connector, cab harness

1шт.

5

P8647262

HARNESS

- engine, see Figure 4-2

1шт.

6

REF

INSTRUCTION

BOX - electrical, see figure 4-56, 4-60, 4-64 or 4-66 for correct electric box

1шт.

7

P40941

CONNECTION,ELECTRIC

CONNECTOR - electrical instrument panel harness to electrical senders harness

1шт.

8

REF

INSTRUCTION

HARNESS - at turntable, see figure 4-42

1шт.

9

P9547226

ELECTRICAL WIRE

WIRE - connector electrical box, 100 mm (3-15/16 inch) long

1шт.

10

P9547232

ELECTRICAL WIRE

WIRE - connector electrical box, 150 mm (5-15/16 inch) long

1шт.

Выбрано товаров: 10