Запчасти Case 220B (8-004) - HYDRAULIC OIL COOLER AND FAN, P.I.N. 74441 THROUGH 74597, P.I.N. 03201 AND AFTER (08) - HYDRAULICS

Схема запчастей Case 220B - (8-004) - HYDRAULIC OIL COOLER AND FAN, P.I.N. 74441 THROUGH 74597, P.I.N. 03201 AND AFTER (08) - HYDRAULICS
FIT
1:1
100%

Артикул

Название

Примечание

Количество

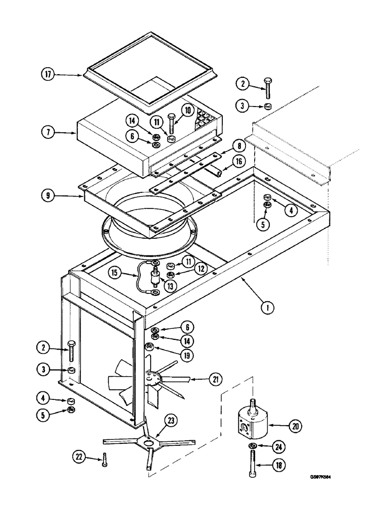
1

P6328212

SUPPORT

FRAME - mounting, oil cooler

1шт.

2

814-14080

BOLT,Hex, M14 x 2 x 80mm, Cl 8.8

mounting, oil cooler frame (Replaces bolt P933851) Hex, M14 x 80, 8.8

4шт.

3

P3528792

WASHER

SPACER - frame mounting bolt, upper

4шт.

4

P3528798

WASHER

SPACER - frame mounting bolt, lower

4шт.

5

P134549

SAFETY NUT

NUT - hex, frame mounting bolt

4шт.

6

P34611

WASHER

- flat, flexible mount

16шт.

7

P1137724

COOLER ASSY.

COOLER - hydraulic oil

2шт.

8

P3122826

PLATE

- spacer, Serial Range: cooler-shroud

4шт.

9

P4540318

ORIFICE RING

SHROUD - cooler fan

2шт.

10

814-10040

BOLT,Hex, M10 x 1.5 x 40mm, Cl 8.8

- cooler to shroud, hex, 10 - 1.5 x 40 mm (Replaces P933818)

12шт.

11

P3528795

WASHER

SPACER - cooler mounting bolt

24шт.

12

832-10410

NUT,M10 x 1.5, Cl 8

NUT, LOCK, , Cooler mounting bolt (Replaces nut P34598) M10 x 1.5, Cl 8

12шт.

13

P41474

STOP

MOUNT - flexible, cooler and, Serial Range: shroud-frame

8шт.

14

832-10410

NUT,M10 x 1.5, Cl 8

NUT, LOCK, , Flexible mount (Replaces nut P34598) M10 x 1.5, Cl 8

16шт.

15

P3947203

NEG BATTERY CABLE

WIRE - ground

1шт.

16

REF

INSTRUCTION

GUARD - shroud edge, 500 mm (19-11/16 inch) long, cut from bulk stock P3109 below

4шт.

17

P2843858

WINDOW FRAME

FRAME - cooler

2шт.

18

P32939

SCREW

BOLT - hex socket, Serial Range: motor-support

4шт.

19

P1334577

SAFETY NUT

NUT - hex, fan mounting

2шт.

20

REF

INSTRUCTION

MOTOR ASSEMBLY - cooler fan, parts list Figure 8-182 or 8-184

2шт.

21

P2843295

FAN

- cooler

2шт.

22

614-6016

BOLT,Hex, M6 x 1 x 16mm, Cl 8.8, Full Thd

Support to shroud Hex, M6 x 16, 8.8

8шт.

23

P6328211

SUPPORT

- fan

2шт.

24

P34611

WASHER

- flat, motor mounting bolt

4шт.

P3109

GASKET

SEAL - bulk, sold by the meter

1шт.

Выбрано товаров: 25