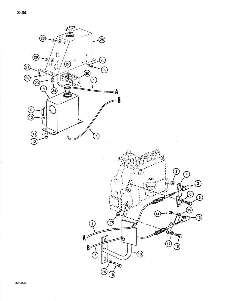
Запчасти Case 170B (3-34) - THROTTLE AND FUEL SHUTOFF CONTROLS, P.I.N. 74341 THROUGH 74399 (03) - FUEL SYSTEM

Схема запчастей Case 170B - (3-34) - THROTTLE AND FUEL SHUTOFF CONTROLS, P.I.N. 74341 THROUGH 74399 (03) - FUEL SYSTEM
FIT
1:1
100%

Артикул

Название

Примечание

Количество

1

P2531391

CONTROL SLIDE

CABLE - throttle control

1шт.

2

P140003

BALL JOINT

JOINT - ball, throttle, Serial Range: cable-lever

1шт.

3

825-1106

NUT,Hex, M6, Cl 8

- hex, 6 mm - 1, plated

1шт.

4

P2826116

LEVER

- throttle control, at pump

1шт.

5

P133857

SCREW

BOLT - throttle, Serial Range: lever-pump

1шт.

6

P3528799

WASHER

SPACER - throttle lever bolt

1шт.

7

P2531335

CONTROL SLIDE

CABLE - fuel shutoff

1шт.

8

P2726370

SUPPORT

BRACKET - mounting, fuel shutoff cable

1шт.

9

814-8065

BOLT,Hex, M8 x 1.25 x 65mm, Cl 8.8

- hex head, 8 mm-1.25 mm x 65 mm, plated

4шт.

10

P3528794

WASHER

SPACER - bracket bolt, upper

4шт.

11

P4328732

WASHER

SPACER - bracket bolt, lower

4шт.

12

P1334571

NUT

- hex, bracket bolt

4шт.

13

P40093

BALL JOINT

JOINT - ball, shutoff, Serial Range: cable-lever

1шт.

14

P34108

NUT

- hex, ball, Serial Range: joint-lever

1шт.

15

P1026133

LEVER

- fuel shutoff, at pump

1шт.

16

814-6025

BOLT,Hex, M6 x 1 x 25mm, Cl 8.8, Full Thd

- hex head, 6 mm - 1 x 25 mm, plated

2шт.

17

P3528799

WASHER

SPACER - shutoff lever bolt

2шт.

17a

P234513

SAFETY NUT

NUT - hex, shutoff lever bolt

2шт.

18

P3128210

SUPPORT

BRACKET - mounting, throttle and fuel shutoff cables

1шт.

19

43127

BOLT,Hex, M8 x 1.25 x 25mm, Cl 8.8

BOLT, , Mounting Bracket Hex, M8 x 25, 8.8

2шт.

20

P3528794

WASHER

SPACER - mounting bracket bolt

2шт.

21

P133865

SCREW

BOLT - throttle control cover

4шт.

22

P3528794

WASHER

SPACER - cover bolt, upper

4шт.

23

P4328732

WASHER

SPACER - cover bolt, lower

4шт.

24

P1334571

NUT

- cover bolt

4шт.

25

P5328211

SUPPORT

COVER - throttle control

1шт.

26

P1737419

PLUG

- cover

4шт.

27

P32529

SCREW,Hex Soc Hd, M4 x 16

BOLT - bracket, harness end

4шт.

28

P4328717

WASHER

SPACER - bracket bolt

4шт.

29

P34107X

NUT,M4, Cl 8

- bracket bolt

4шт.

30

P2225949

SUPPORT

BRACKET - harness end

1шт.

Выбрано товаров: 31